西安饮食:2023年亏损1.18亿元

中证智能财讯 西安饮食(000721)4月10日披露2023年年报。2023年,公司实现营业总收入7.80亿元,同比增长60.94%;归母净利润亏损1.18亿元,上年同期亏损2.21亿元;扣非净利润亏损1.25亿元,上年同期亏损2.29亿元;经营活动产生的现金流量净额为7671.62万元,上年同期为-3783.40万元;报告期内,西安饮食基本每股收益为-0.2055元,加权平均净资产收益率为-24.54%。


以4月9日收盘价计算,西安饮食目前市盈率(TTM)约为-49.55倍,市净率(LF)约为13.86倍,市销率(TTM)约为7.49倍。

公司近年市盈率(TTM)、市净率(LF)、市销率(TTM)历史分位图如下所示:



数据统计显示,西安饮食近三年营业总收入复合增长率为23.83%,在酒店餐饮行业已披露2023年数据的5家公司中排名第1。近三年净利润复合年增长率为-335.64%,排名5/5。

年报称,公司的主营业务为餐饮服务及工业化食品加工及销售。
分产品来看,2023年公司主营业务中,餐饮收入收入5.54亿元,同比增长79.45%,占营业收入的70.97%;商品收入收入0.33亿元,同比增长120.14%,占营业收入的4.29%;客房收入收入0.16亿元,同比增长289.81%,占营业收入的2.00%。

截至2023年末,公司员工总数为3577人,人均创收21.81万元,人均创利-3.30万元,人均薪酬8.70万元,较上年同期分别增长63.05%、45.85%、24.60%。
2023年,公司毛利率为19.75%,同比上升7.08个百分点;净利率为-15.28%,较上年同期上升30.24个百分点。从单季度指标来看,2023年第四季度公司毛利率为-3.74%,同比下降1.81个百分点,环比下降32.79个百分点;净利率为-27.05%,较上年同期上升48.24个百分点,较上一季度下降17.42个百分点。

分产品看,餐饮收入、商品收入、客房收入2023年毛利率分别为12.62%、41.78%、63.15%。

报告期内,公司前五名供应商合计采购金额1.93亿元,占年度采购总额比例为48.69%。


数据显示,2023年公司加权平均净资产收益率为-24.54%,较上年同期增长11.04个百分点;公司2023年投入资本回报率为-7.70%,较上年同期增长9.22个百分点。

2023年,公司经营活动现金流净额为7671.62万元,同比增加1.15亿元,主要系本报告期公司销售商品、提供劳务收到的现金较上年同期增加所致;筹资活动现金流净额3415.56万元,同比减少1.37亿元,主要系上年同期吸收投资收到的现金增加,本报告期末无此事项所致;投资活动现金流净额-1.35亿元,上年同期为-9987.59万元,主要系本报告期公司购建固定资产、无形资产和其他长期资产所支付的现金较上年同期增加所致。
进一步统计发现,2023年公司自由现金流为-1.52亿元,上年同期为-1.14亿元。

2023年,公司营业收入现金比为109.11%,净现比为-65.06%。

营运能力方面,2023年,公司公司总资产周转率为0.49次,上年同期为0.31次(2022年行业平均值为0.33次,公司位居同行业5/10);固定资产周转率为2.50次,上年同期为1.59次(2022年行业平均值为11.21次,公司位居同行业7/10);公司应收账款周转率、存货周转率分别为12.99次、13.26次。

2023年,公司期间费用为2.71亿元,同比减少1516.17万元;期间费用率为34.74%,同比下降24.29个百分点。其中,销售费用同比下降15.67%,管理费用同比增长70.89%,财务费用同比增长3.88%。

资产重大变化方面,截至2023年年末,公司固定资产较上年末增加5.11%,占公司总资产比重上升2.39个百分点;使用权资产较上年末减少18.34%,占公司总资产比重下降1.72个百分点;长期待摊费用较上年末减少17.86%,占公司总资产比重下降1.28个百分点;货币资金较上年末减少28.05%,占公司总资产比重下降1.17个百分点。

负债重大变化方面,截至2023年年末,公司短期借款较上年末增加21.70%,占公司总资产比重上升6.12个百分点;应付账款较上年末减少15.55%,占公司总资产比重下降1.47个百分点;长期借款较上年末增加1031.55%,占公司总资产比重上升2.47个百分点;租赁负债较上年末减少18.62%,占公司总资产比重下降1.42个百分点。

从存货变动来看,截至2023年年末,公司存货账面价值为5106.14万元,占净资产的12.11%,较上年末增加766.75万元。根据财报,公司本期没有计提存货跌价准备。

在偿债能力方面,公司2023年年末资产负债率为72.43%,相比上年末上升5.07个百分点;有息资产负债率为32.91%,相比上年末上升8.53个百分点。

2023年,公司流动比率为0.25,速动比率为0.19。

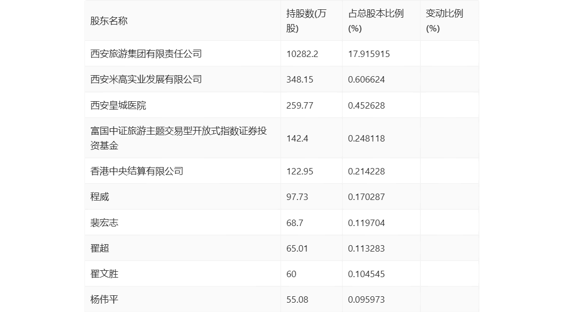
年报显示,2023年年末公司十大流通股东中,新进股东为程威、裴宏志、翟文胜、杨伟平,取代了三季度末的洪锡坚、张鹏、蔡卫民、华夏中证旅游主题交易型开放式指数证券投资基金。在具体持股比例上,香港中央结算有限公司、翟超持股有所上升,西安皇城医院、富国中证旅游主题交易型开放式指数证券投资基金持股有所下降。

值得注意的是,根据年报数据,西安饮食25.81%股份处于质押状态。其中,第一大股东西安旅游集团有限责任公司质押8880.00万股公司股份,占其全部持股的49.98%。
筹码集中度方面,截至2023年年末,公司股东总户数为12.68万户,较三季度末下降了9916户,降幅7.25%;户均持股市值由三季度末的5.50万元下降至4.95万元,降幅为10.00%。

指标注解:
市盈率
=总市值/净利润。当公司亏损时市盈率为负,此时用市盈率估值没有实际意义,往往用市净率或市销率做参考。
市净率
=总市值/净资产。市净率估值法多用于盈利波动较大而净资产相对稳定的公司。
市销率
=总市值/营业收入。市销率估值法通常用于亏损或微利的成长型公司。
文中市盈率和市销率采用TTM方式,即以截至最近一期财报(含预报)12个月的数据计算。市净率采用LF方式,即以最近一期财报数据计算。
市盈率为负时,不显示当期分位数,会导致折线图中断。