西安饮食:2024年第一季度亏损2993.49万元

中证智能财讯 西安饮食(000721)4月16日披露2024年一季报。2024年第一季度,公司实现营业总收入1.82亿元,同比增长3.47%;归母净利润亏损2993.49万元,上年同期亏损3112.59万元;扣非净利润亏损3017.26万元,上年同期亏损3192.46万元;经营活动产生的现金流量净额为2419.66万元,同比增长144.65%;报告期内,西安饮食基本每股收益为-0.0522元,加权平均净资产收益率为-7.36%。

2024年第一季度,公司毛利率为4.66%,同比下降18.43个百分点;净利率为-16.53%,较上年同期上升1.35个百分点。

数据显示,2024年第一季度公司加权平均净资产收益率为-7.36%,较上年同期下降1.40个百分点;公司2024年第一季度投入资本回报率为-2.16%,较上年同期下降0.04个百分点。

2024年第一季度,公司经营活动现金流净额为2419.66万元,同比增长144.65%;筹资活动现金流净额76.38万元,同比减少7432.95万元;投资活动现金流净额-1588.12万元,上年同期为-5336.01万元。

2024年第一季度,公司营业收入现金比为107.09%,净现比为-80.83%。

资产重大变化方面,截至2024年一季度末,公司货币资金较上年末增加14.66%,占公司总资产比重上升0.66个百分点;使用权资产较上年末减少6.65%,占公司总资产比重下降0.62个百分点;长期待摊费用较上年末减少7.09%,占公司总资产比重下降0.54个百分点;应收账款较上年末增加7.41%,占公司总资产比重上升0.35个百分点。

负债重大变化方面,截至2024年一季度末,公司租赁负债较上年末减少10.43%,占公司总资产比重下降0.88个百分点;长期借款较上年末增加34.88%,占公司总资产比重上升1.00个百分点;递延所得税负债较上年末减少8.21%,占公司总资产比重下降0.20个百分点;一年内到期的非流动负债较上年末增加5.45%,占公司总资产比重上升0.31个百分点。

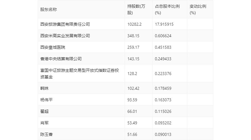
一季报显示,2024年一季度末公司十大流通股东中,新进股东为肖军、陈玉香,取代了上年末的程威、裴宏志、翟文胜。在具体持股比例上,香港中央结算有限公司、杨伟平、翟超持股有所上升,西安皇城医院、富国中证旅游主题交易型开放式指数证券投资基金持股有所下降。

筹码集中度方面,截至2024年一季度末,公司股东总户数为11.78万户,较上年末下降了9076户,降幅7.16%;户均持股市值由上年末的4.95万元下降至4.44万元,降幅为10.30%。
