龙虎榜丨冠捷科技今日跌9.76%,知名游资方新侠净买入1227.8万元

http://ddx.gubit.cn  2023-10-17 21:07  冠捷科技(000727)公司分析

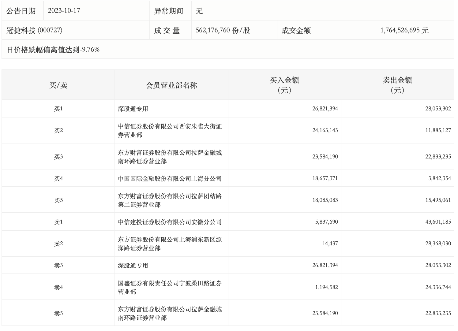
10月17日,冠捷科技今日跌9.76%,龙虎榜数据显示,上榜营业部席位全天成交2.97亿元,占当日总成交金额比例为16.82%。其中,买入金额为1.18亿元,卖出金额为1.78亿元,合计净卖出6005.71万元。

具体来看,知名游资现身龙虎榜,中信建投证券安徽分公司、东方证券上海浦东新区源深路证券营业部分别卖出4360.12万元、2836.80万元;深股通专用、方新侠(中信证券西安朱雀大街证券营业部)分别买入2682.14万元、2416.31万元。