新华制药三款新药同日获批!克拉霉素干混悬剂首家过评,抢占10亿市场
(来源:摩熵医药大数据)
近日,国家药监局(NMPA)官网显示,新华制药子公司山东淄博新达制药有限公司申报的克拉霉素干混悬剂获批上市,视同过评。据摩熵医药数据库显示,新华制药是该产品国产第三家获批企业,并拿下首家过评!

克拉霉素(clarithromycin)是一种常用的大环内酯类抗生素,主要用于治疗对克拉霉素敏感的病原体所引起的感染,包括上呼吸道感染、下呼吸道感染、皮肤和软组织感染以及急性中耳炎等。

该药物由日本大正制药株式会社于20世纪80年代开发,后原研技术转让至雅培制药,并于1990年12月获FDA批准上市,目前已覆盖全球50多个国家或地区。
1996年,美国雅培公司(Abbott)将克拉霉素原研药引入中国市场并获上市批准,商品名为克拉仙(Klacid)。
从市场表现来看,该药物在我国院内市场累计销售额已达135.68亿元,近两年销售额保持在10亿元左右,2024年实现了6.62%的同比增长,市场前景未来可期。

当前我国已上市的克拉霉素包含颗粒剂、片剂、干混悬剂、胶囊、缓释片、注射剂等多种剂型,其中胶囊剂在各类剂型中数量最多,是主流剂型之一。

据摩熵医药数据显示,在院内大环内酯类药物销售额排名中,克拉霉素缓释片以46.63亿元位列第三,克拉霉素片以28.89亿元排名第六,其缓释胶囊剂型则位居第九。

纵观克拉霉素干混悬剂在中国院内市场的表现,其增长势头尤为亮眼。从2021年开启高速增长模式,2021至2024年期间,年度增长率依次为66.24%、26.25%、39.81%和65.03%,2024年销售额突破8500万元,市场潜力不容小觑。

新华制药此次获批,是继杭州中美华东制药、雅柏药业后国内第三家获批克拉霉素干混悬剂的企业,也是该剂型的首家过评企业。不仅助力该药物形成了原研1+国产3的竞争格局,更将助力公司提升市场竞争力。

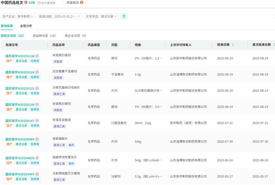
近日新华制药连发三则公告,宣布成功拿下米诺地尔搽剂、克拉霉素干混悬剂、沙库巴曲缬沙坦钠片三款重磅产品,并公布了2025年半年报,公司营业收入为46.4亿元,归母净利润为2.24亿元。

值得关注的是,今年以来新华制药及子公司已累计获得了恩格列净片、达格列净片、他达拉非片、普瑞巴林口服溶液等18款新产品的22个生产批文,涉及11个亚类,涵盖止痛药、心脏病治疗用药、泌尿系统药物等多个领域,随着新品陆续获批,公司产品矩阵将朝着更全面、更多元的方向发展。