西藏矿业:2024年第一季度净利润2367.27万元 同比增长36.07%

中证智能财讯 西藏矿业(000762)4月26日披露2024年一季报。2024年第一季度,公司实现营业总收入1.48亿元,同比增长64.13%;归母净利润2367.27万元,同比增长36.07%;扣非净利润1905.95万元,同比增长119.77%;经营活动产生的现金流量净额为2807.84万元,同比下降91.95%;报告期内,西藏矿业基本每股收益为0.0454元,加权平均净资产收益率为0.82%。

2024年第一季度,公司毛利率为53.50%,同比下降22.26个百分点;净利率为26.66%,较上年同期下降13.38个百分点。

2024年第一季度,公司经营活动现金流净额为2807.84万元,同比下降91.95%;筹资活动现金流净额-945.13万元,同比减少3999.73万元;投资活动现金流净额-5.51亿元,上年同期为-3.43亿元。

2024年第一季度,公司营业收入现金比为107.22%,净现比为118.61%。

资产重大变化方面,截至2024年一季度末,公司货币资金较上年末减少27.68%,占公司总资产比重下降6.33个百分点;在建工程较上年末增加6.25%,占公司总资产比重上升3.19个百分点;无形资产较上年末减少1.63%,占公司总资产比重上升1.69个百分点;应收账款较上年末增加78533.42%,占公司总资产比重上升0.41个百分点。

负债重大变化方面,截至2024年一季度末,公司应付账款较上年末减少97.01%,占公司总资产比重下降6.58个百分点;其他应付款(含利息和股利)较上年末减少22.98%,占公司总资产比重下降0.12个百分点;合同负债较上年末减少39.18%,占公司总资产比重下降0.11个百分点;长期应付款合计较上年末增加0.55%,占公司总资产比重上升1.63个百分点。

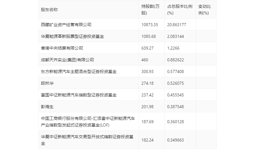
一季报显示,2024年一季度末的公司十大流通股东中,新进股东为富国中证新能源汽车指数型证券投资基金、彭海生,取代了上年末的创金合信新能源汽车主题股票型发起式证券投资基金、华泰证券股份有限公司。在具体持股比例上,西藏矿业资产经营有限公司、华夏能源革新股票型证券投资基金、香港中央结算有限公司、成都天齐实业(集团)有限公司、东方新能源汽车主题混合型证券投资基金持股有所上升,汇添富中证新能源汽车产业指数型发起式证券投资基金(LOF)、华夏中证新能源汽车交易型开放式指数证券投资基金持股有所下降。

筹码集中度方面,截至2024年一季度末,公司股东总户数为12.87万户,较上年末下降了1.12万户,降幅8.03%;户均持股市值由上年末的10.65万元下降至8.80万元,降幅为17.37%。
