查股网.CN
首页
选股
热点
资金
板块
大盘
DDX
游资
龙虎
导航
龙虎榜丨通化金马今日涨停录得五连板,三机构净卖出5344.85万元
龙虎榜丨通化金马今日涨停录得五连板,三机构净卖出5344.85万元
http://ddx.gubit.cn
2023-09-15 16:37
通化金马(000766)公司分析
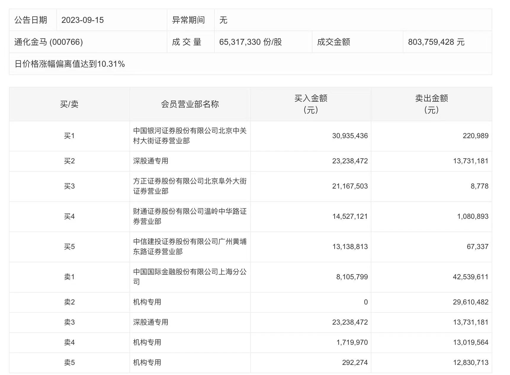
9月15日,
通化金马
今日涨停录得五连板,成交额8.04亿元,换手率6.76%,盘后龙虎榜数据显示,深股通专用席位买入2323.85万元并卖出1373.12万元,三机构净卖出5344.85万元。