龙虎榜丨通化金马今日跌停,机构合计净卖出8153.95万元

http://ddx.gubit.cn  2023-09-22 16:35  通化金马(000766)公司分析

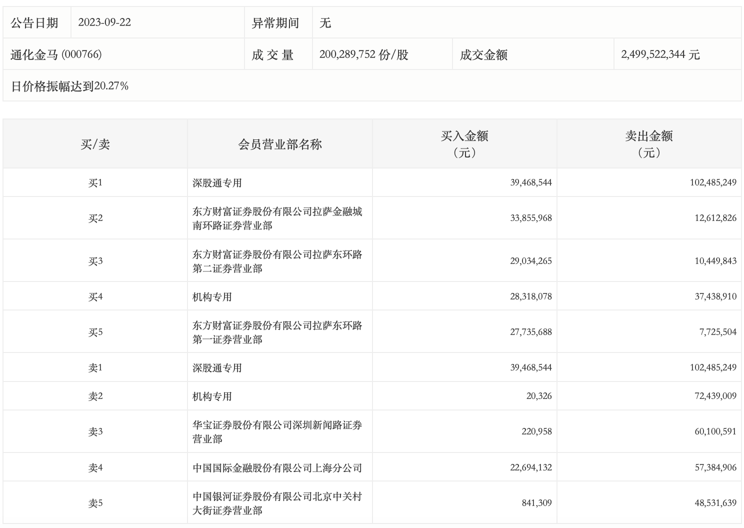
9月22日,通化金马今日跌停,龙虎榜数据显示,上榜营业部席位全天成交5.91亿元,占当日总成交金额比例为23.66%。其中,买入金额为1.82亿元,卖出金额为4.09亿元,合计净卖出2.27亿元。

具体来看,机构买入2833.84万元,卖出1.1亿元,合计净卖出8153.95万元。此外,深股通专用、华宝证券深圳新闻路证券营业部分别卖出1.02亿元、6010.06万元;深股通专用、东方财富证券拉萨金融城南环路证券营业部分别买入3946.85万元、3385.60万元。