龙虎榜丨通化金马今日涨停,机构合计净卖出1821.63万元

http://ddx.gubit.cn  2023-10-17 21:05  通化金马(000766)公司分析

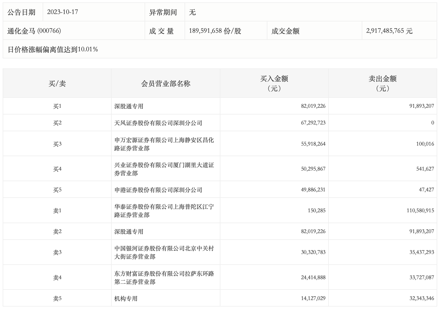
10月17日,通化金马今日涨停,全天换手率达19.63%,振幅达9.71%。龙虎榜数据显示,营业部席位合计净买入6975.44万元。其中,机构买入1412.7万元,卖出3234.33万元,合计净卖出1821.63万元。此外,深股通专用、天风证券深圳分公司分别买入8201.92万元、6729.27万元;华泰证券上海普陀区江宁路证券营业部、深股通专用分别卖出1.11亿元、9189.32万元。