龙虎榜 | 甘咨询今日跌停,机构合计净卖出23.31万元

http://ddx.gubit.cn  2023-04-18 16:41  甘咨询(000779)公司分析

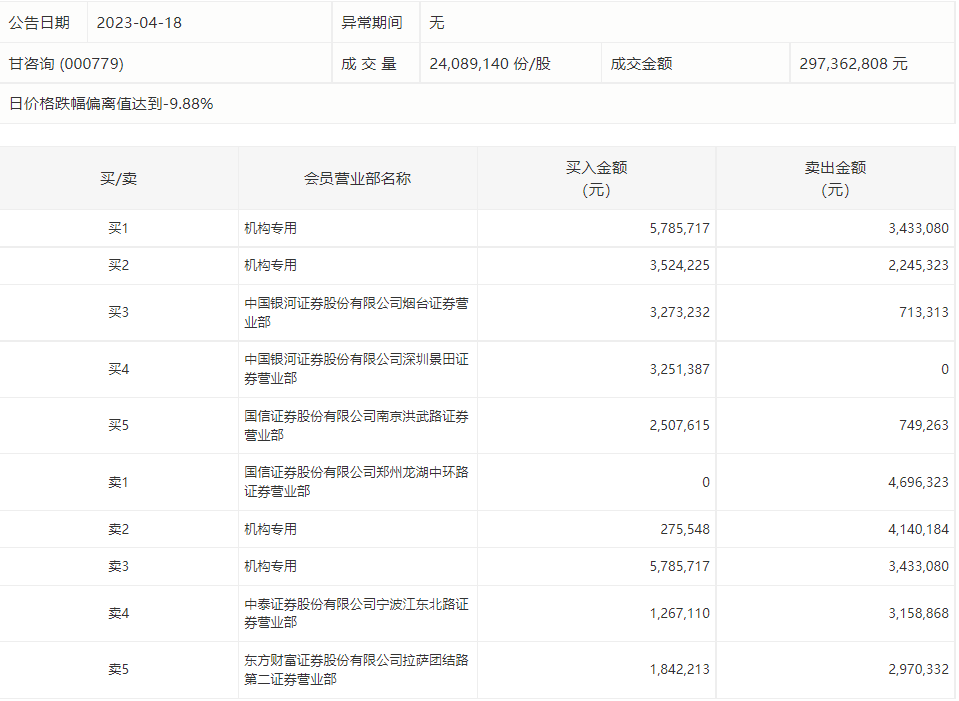
4月18日,甘咨询今日跌停,龙虎榜数据显示,上榜营业部席位全天成交4383.37万元,占当日总成交金额比例为14.74%。其中,买入金额为2172.7万元,卖出金额为2210.67万元,合计净卖出37.96万元。

具体来看,机构买入958.55万元,卖出981.86万元,合计净卖出23.31万元。此外,国信证券郑州龙湖中环路证券营业部、中泰证券宁波江东北路证券营业部分别卖出469.63万元、315.89万元;中国银河证券烟台证券营业部、中国银河证券深圳景田证券营业部分别买入327.32万元、325.14万元。