龙虎榜丨中国武夷今日涨停,上榜营业部席位合计净卖出972.88万元

http://ddx.gubit.cn  2023-09-06 20:47  中国武夷(000797)公司分析

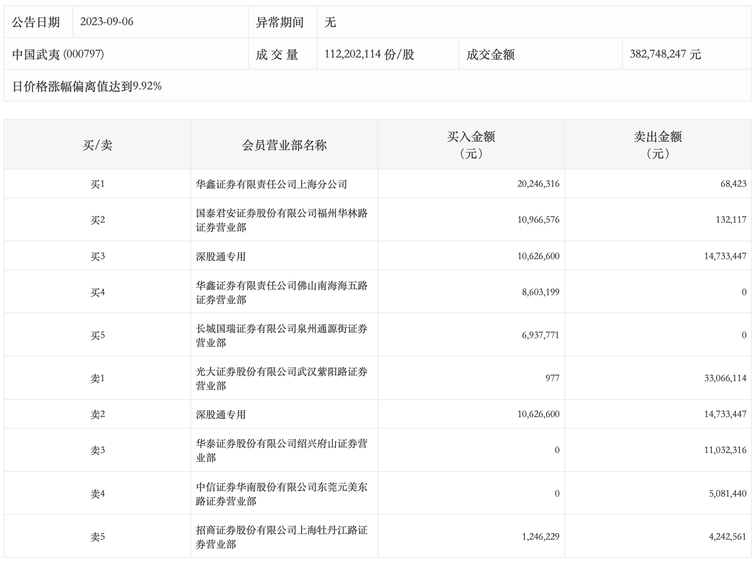
9月6日,中国武夷今日涨停,龙虎榜数据显示,上榜营业部席位全天成交1.27亿元,占当日总成交金额比例为33.18%。其中,买入金额为5862.77万元,卖出金额为6835.64万元,合计净卖出972.88万元。

具体来看,华鑫证券上海分公司、国泰君安证券福州华林路证券营业部分别买入2024.63万元、1096.66万元;光大证券武汉紫阳路证券营业部、深股通专用分别卖出3306.61万元、1473.34万元。