山高环能:2023年净利润885.11万元 同比下降89.58%

中证智能财讯 山高环能(000803)4月30日披露2023年年报。2023年,公司实现营业总收入21.01亿元,同比增长17.34%;归母净利润885.11万元,同比下降89.58%;扣非净利润亏损2751.08万元,上年同期盈利7939.23万元;经营活动产生的现金流量净额为7.70亿元,上年同期为-1677.43万元;报告期内,山高环能基本每股收益为0.02元,加权平均净资产收益率为0.62%。
报告期内,公司合计非经常性损益为3636.19万元,其中除同公司正常经营业务相关的有效套期保值业务外,非金融企业持有金融资产和金融负债产生的公允价值变动损益以及处置金融资产和金融负债产生的损益为4018.52万元,采用公允价值模式进行后续计量的投资性房地产公允价值变动产生的损益为-317.48万元。

以4月29日收盘价计算,山高环能目前市盈率(TTM)约为224.58倍,市净率(LF)约为1.4倍,市销率(TTM)约为0.95倍。

公司近年市盈率(TTM)、市净率(LF)、市销率(TTM)历史分位图如下所示:



数据统计显示,山高环能近三年营业总收入复合增长率为82.30%,在电能综合服务行业已披露2023年数据的15家公司中排名第2。近三年净利润复合年增长率为-41.90%,排名12/15。

分产品来看,2023年公司主营业务中,油脂产品加工和销售收入14.27亿元,同比增长29.41%,占营业收入的67.89%;供暖收入2.95亿元,同比增长14.15%,占营业收入的14.02%;环保无害化处理收入2.92亿元,同比增长85.74%,占营业收入的13.89%。

截至2023年末,公司员工总数为1795人,人均创收117.07万元,人均创利0.49万元,人均薪酬14.64万元,较上年同期分别变化1.39%、-91.00%、34.37%。

2023年,公司毛利率为14.71%,同比下降4.56个百分点;净利率为-0.1%,较上年同期下降4.54个百分点。从单季度指标来看,2023年第四季度公司毛利率为8.85%,同比上升1.74个百分点,环比下降1.79个百分点;净利率为-2.22%,较上年同期下降0.71个百分点,较上一季度上升4.34个百分点。

分产品看,油脂产品加工和销售、供暖、环保无害化处理2023年毛利率分别为12.13%、20.73%、13.03%。

报告期内,公司前五大客户合计销售金额13.55亿元,占总销售金额比例为64.49%,公司前五名供应商合计采购金额3.92亿元,占年度采购总额比例为21.94%。


数据显示,2023年公司加权平均净资产收益率为0.62%,较上年同期下降5.77个百分点;公司2023年投入资本回报率为-0.47%,较上年同期下降6.33个百分点。
2023年,公司经营活动现金流净额为7.70亿元,同比增加7.87亿元;筹资活动现金流净额5917.71万元,同比减少7.81亿元;投资活动现金流净额-7.82亿元,上年同期为-9.49亿元。
进一步统计发现,2023年公司自由现金流为-9.62亿元,上年同期为5.93亿元。

2023年,公司营业收入现金比为136.14%,净现比为8703.39%。

营运能力方面,2023年,公司公司总资产周转率为0.38次,上年同期为0.43次(2022年行业平均值为0.38次,公司位居同行业7/15);固定资产周转率为3.42次,上年同期为3.76次(2022年行业平均值为0.83次,公司位居同行业1/15);公司应收账款周转率、存货周转率分别为7.14次、16.84次。

2023年,公司期间费用为2.83亿元,较上年同期增加5881.17万元;期间费用率为13.45%,较上年同期上升0.95个百分点。其中,销售费用同比增长60.21%,管理费用同比下降11.35%,研发费用同比下降29.35%,财务费用同比增长99.37%。

资产重大变化方面,截至2023年年末,公司在建工程较上年末增加46.22%,占公司总资产比重上升3.84个百分点;无形资产较上年末增加3.37%,占公司总资产比重上升2.73个百分点;存货较上年末减少69.85%,占公司总资产比重下降2.02个百分点;其他应收款(含利息和股利)较上年末减少67.97%,占公司总资产比重下降1.99个百分点。

负债重大变化方面,截至2023年年末,公司其他应付款(含利息和股利)较上年末减少55.20%,占公司总资产比重下降8.62个百分点;长期借款较上年末增加41.97%,占公司总资产比重上升5.59个百分点;短期借款较上年末增加98.80%,占公司总资产比重上升4.88个百分点;应付账款较上年末减少40.21%,占公司总资产比重下降3.46个百分点。

从存货变动来看,截至2023年年末,公司存货账面价值为4931.38万元,占净资产的3.48%,较上年末减少1.14亿元。其中,存货跌价准备为1183.06万元,计提比例为19.35%。

2023年全年,公司研发投入金额为1575.97万元,同比下降33.30%;研发投入占营业收入比例为0.75%,相比上年同期下降0.57个百分点。此外,公司全年研发投入资本化率为29.48%。

2023年,山高环能的商誉达到5.90亿元,相当于同期公司净资产14.16亿元的41.71%。
在偿债能力方面,公司2023年年末资产负债率为73.29%,相比上年末下降0.21个百分点;有息资产负债率为35.56%,相比上年末上升13.49个百分点。

2023年,公司流动比率为0.47,速动比率为0.44。

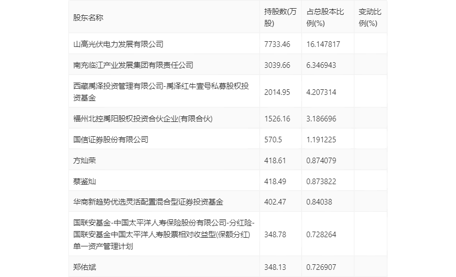
年报显示,2023年年末公司十大流通股东中,新进股东为国联安基金-中国太平洋人寿保险股份有限公司-分红险-国联安基金中国太平洋人寿股票相对收益型(保额分红)单一资产管理计划,取代了三季度末的郑旭。在具体持股比例上,国信证券股份有限公司持股有所上升,郑佑斌持股有所下降。

筹码集中度方面,截至2023年年末,公司股东总户数为1.84万户,较三季度末下降了595户,降幅3.13%;户均持股市值由三季度末的15.26万元下降至15.10万元,降幅为1.05%。

指标注解:
市盈率
=总市值/净利润。当公司亏损时市盈率为负,此时用市盈率估值没有实际意义,往往用市净率或市销率做参考。
市净率
=总市值/净资产。市净率估值法多用于盈利波动较大而净资产相对稳定的公司。
市销率
=总市值/营业收入。市销率估值法通常用于亏损或微利的成长型公司。
文中市盈率和市销率采用TTM方式,即以截至最近一期财报(含预报)12个月的数据计算。市净率采用LF方式,即以最近一期财报数据计算。
市盈率为负时,不显示当期分位数,会导致折线图中断。