吉电股份:2024年第一季度净利润6.19亿元 同比增长22.94%

中证智能财讯 吉电股份(000875)4月30日披露2024年一季报。2024年第一季度,公司实现营业总收入38.15亿元,同比下降5.21%;归母净利润6.19亿元,同比增长22.94%;扣非净利润5.73亿元,同比增长17.41%;经营活动产生的现金流量净额为6.36亿元,同比下降9.17%;报告期内,吉电股份基本每股收益为0.22元,加权平均净资产收益率为5.11%。


2024年第一季度,公司毛利率为31.93%,同比上升3.12个百分点;净利率为20.68%,较上年同期上升4.12个百分点。

数据显示,2024年第一季度公司加权平均净资产收益率为5.11%,较上年同期增长0.71个百分点;公司2024年第一季度投入资本回报率为1.59%,较上年同期增长0.01个百分点。

2024年第一季度,公司经营活动现金流净额为6.36亿元,同比下降9.17%;筹资活动现金流净额2.79亿元,同比增加3.59亿元;投资活动现金流净额-11.51亿元,上年同期为-7.41亿元。

2024年第一季度,公司营业收入现金比为76.11%,净现比为102.89%。

资产重大变化方面,截至2024年一季度末,公司应收账款较上年末增加13.04%,占公司总资产比重上升1.25个百分点;在建工程较上年末减少9.55%,占公司总资产比重下降0.85个百分点;货币资金较上年末减少22.41%,占公司总资产比重下降0.33个百分点;固定资产较上年末增加1.02%,占公司总资产比重下降0.27个百分点。

负债重大变化方面,截至2024年一季度末,公司长期借款较上年末增加5.04%,占公司总资产比重上升1.53个百分点;其他流动负债较上年末减少97.71%,占公司总资产比重下降0.93个百分点;合同负债较上年末减少84.59%,占公司总资产比重下降0.43个百分点;长期应付款合计较上年末减少14.89%,占公司总资产比重下降0.41个百分点。

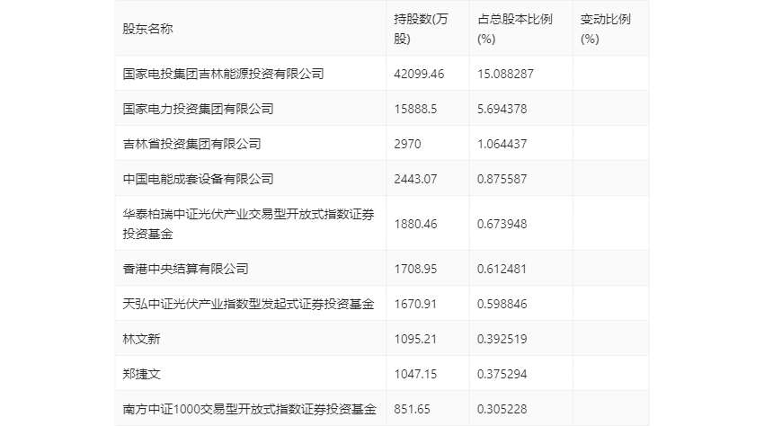
一季报显示,2024年一季度末公司十大流通股东中,新进股东为南方中证1000交易型开放式指数证券投资基金,取代了上年末的杨兴友。在具体持股比例上,华泰柏瑞中证光伏产业交易型开放式指数证券投资基金、林文新持股有所上升,香港中央结算有限公司、天弘中证光伏产业指数型发起式证券投资基金持股有所下降。

筹码集中度方面,截至2024年一季度末,公司股东总户数为16.69万户,较上年末下降了1113户,降幅0.66%;户均持股市值同一季度末持平
