新希望六和:业绩复苏难掩污染短板,多子公司密集被罚,还有偷税问题

文 | 秋山论商业
最近这几年,新希望六和股份的业绩并不理想,2021年和2022年都出现了大幅亏损,尤其是2021年亏损95.03亿元。
2023年和2024年虽然实现扭亏,但是上半年都处于亏损状态,其中2023年上半年亏损29.83亿元、2024年上半年亏损12.17亿元。
今年上半年则不同,新希望六和实现营收516.25亿元,同比增长4.13%;实现归母净利润7.55亿元,同比增加162%。这也是近5年来,新希望六和首次在上半年实现盈利。

今年上半年的这份答卷,意味着随着猪价上涨新希望六和的业绩开始复苏,这是一个积极的信号。不过相较于业内其他头部企业,新希望六和的盈利能力仍然十分脆弱。毛利率方面,今年上半年新希望六和仅有7.87%,而牧原股份和温氏股份高达19.02%、13.76%;销售净利率方面,新希望也仅有1.74%,而牧原股份和温氏股份则达到14.11%、7.08%。
此外,业绩的复苏,却无法掩盖新希望六和污染问题严重的短板,而且部分子公司还出现了欠税、偷税等情况。
污染问题难解,子公司今年已被处罚十几起
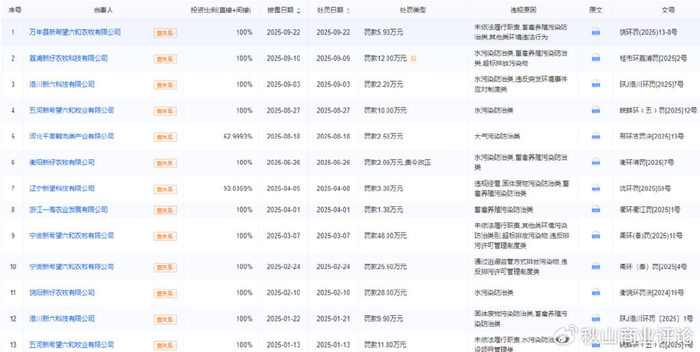
污染问题一直都是新希望六和未能解决的难题。今年以来,新希望六和多家子公司因为这个问题被各地环境部门处罚,一共有十多起。

最近的一次处罚,是在今年9月22日,被处罚的是万年县新希望六和农牧有限公司,这家公司由新希望六和百分百控股。
这份罚单由上饶市生态环境局开出,共罚款5.3万元,理由是这家公司存在畜禽养殖污染防治类、其他类环境违法行为。
最大的一笔罚单则是今年3月7日,宁波市生态环境局向宁波新希望六和农牧有限公司开出了48万元的罚单,违规原因是超标排放污染物,违反排污许可管理制度。
值得一提的是,在这次处罚之前的2月24日,宁波市生态环境局就曾向宁波新希望六和开出过25.6万元罚款的罚单,原因是通过逃避监管方式排放污染物,违反排污许可管理制度。
半个月内,因为差不多同样的问题,被监管部门开出两份罚单,说明宁波新希望六和的环境污染问题当时确实比较严重。
今年因为污染问题被处罚的新希望子公司,还包括五河新希望六和牧业有限公司、河北千喜鹤肉类产业有限公司、衡阳新好农牧有限公司、辽宁新望科技有限公司、饶阳新好农牧有限公司等等,其中饶阳新好农牧因为水污染防治类问题被罚款28万元。
不只是今年,新希望六和子公司2024年因为环境问题被处罚的情况同样不少。2024年年报显示,新希望六和子公司2024年因环境问题被处罚多达19次,最多的一次被罚款60万元,被处罚一方是延安本源农业科技发展有限公司,原因是氧化塘污水外溢。

子公司合规问题严重,还因偷税被罚款
不只是污染问题,新希望六和子公司还存在提供虚假资料、违规转让畜禽标识等情况。2月13日,五河县农业农村局发布处罚决定,对五河新希望六和牧业有限公司罚款2.5万元,原因是为不属于该公司的外地130头生猪申报动物产地检疫证明。
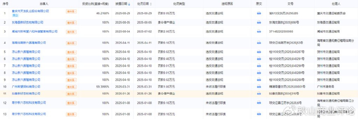
交通问题同样是新希望六和子公司面临的一大难题。今年以来,子公司一共出现13次因为违反交通法规被处罚的情况,如皋新好农牧有限公司、东海县新好农牧有限公司甚至被分别责令停业整顿3天和7天。

相比今年,新希望六和子公司2024年违反交通法规的情况要更加严重。企业预警通显示,新希望六和子公司2024年被交通运输部门处罚高达62起之多。
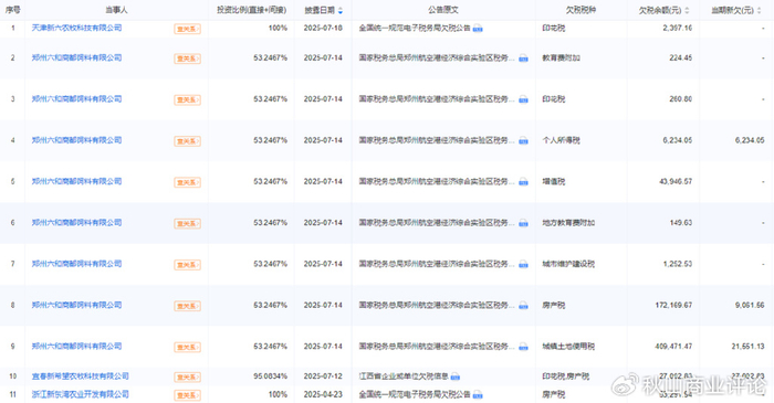
除了这些问题,新希望六和子公司在税务方面同样问题不少。9月19日,国家税务总局大庆市税务局第三稽查局发布处罚决定,对大庆六和饲料有限公司处以罚款29.48万元元,原因是该公司逃避缴纳税款,也就是偷税,所以处少缴企业所得税百分之五十罚款。

此外,新希望六和多家子公司今年还出现过欠税的情况。企业预警通的数据显示,今年欠税的情况出现过29起,这个数据大部分由郑州六和商都饲料有限公司“贡献”。
数额最大的一次发生在第二季度。根据国家税务总局郑州航空港经济综合实验区税务局郑东新区税务分局7月14日发布的公告,显示郑州六和商都饲料有限公司第二季度欠缴城镇土地使用税40.95万元。此外,当时还欠缴印花税、个人所得税、增值税、房产税等,其中房产税为17.22万元。
另外,天津新六农牧科技有限公司、宜春新希望农牧科技有限公司、浙江新东湾农业开发有限公司、潍坊六和饲料有限公司等子公司今年都出现过欠税的情况。

从上述信息看,新希望六和针对旗下子公司环境污染、合规经营和合法纳税等问题上的管控,还有很长的路要走。
注:本文数据和信息来源于上市公司年报、企业预警通、媒体报道等公开渠道,仅供参考,不构成投资建议。未经授权,本文禁止转载!
·END·