龙虎榜丨华联股份今日涨停,知名游资著名刺客净买入785.79万元

查股网  2024-07-03 21:00  华联股份(000882)个股分析

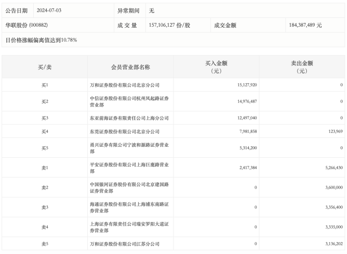
7月3日,华联股份(维权)今日涨停,龙虎榜数据显示,上榜营业部席位全天成交7713.29万元,占当日总成交金额比例为41.83%。其中,买入金额为5831.49万元,卖出金额为1881.8万元,合计净买入3949.69万元。

具体来看,知名游资现身龙虎榜,著名刺客(东莞证券股份有限公司北京分公司)净买入785.79万元。此外,万和证券北京分公司、中信证券杭州凤起路证券营业部分别买入1512.79万元、1497.65万元;平安证券上海巨鹿路营业部、中国银河证券北京建国路证券营业部分别卖出526.64万元、360.00万元。