龙虎榜丨凯格精机今日跌17.63%,中国银河证券北京中关村大街证券营业部卖出1823.84万元

http://ddx.gubit.cn  2023-07-21 16:56  中 关 村(000931)公司分析

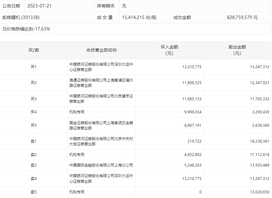
7月21日,凯格精机今日跌17.63%,龙虎榜数据显示,上榜营业部席位全天成交1.71亿元,占当日总成交金额比例为20.64%。其中,买入金额为6588.64万元,卖出金额为1.05亿元,合计净卖出3928.62万元。

具体来看,机构买入1484.88万元,卖出3343.17万元,合计净卖出1858.29万元。此外,中国银河证券北京中关村大街证券营业部、中国国际金融上海分公司分别卖出1823.84万元、1350.35万元;中国银河证券深圳大运中心证券营业部、海通证券上海黄浦区福州路证券营业部分别买入1321.08万元、1180.65万元。