华菱钢铁:2023年净利润同比下降20.38% 拟10派2.3元

中证智能财讯 华菱钢铁(000932)3月30日披露2023年年报。2023年,公司实现营业收入1638.97亿元,同比下降2.5%;归母净利润50.79亿元,同比下降20.38%;扣非净利润46.80亿元,同比下降24.66%;经营活动产生的现金流量净额为52.73亿元,同比下降44.25%;报告期内,华菱钢铁基本每股收益为0.7351元,加权平均净资产收益率为9.87%。公司2023年年度利润分配预案为:拟向全体股东每10股派2.3元(含税)。

以3月29日收盘价计算,华菱钢铁目前市盈率(TTM)约为7.2倍,市净率(LF)约为0.69倍,市销率(TTM)约为0.22倍。

公司近年市盈率(TTM)、市净率(LF)、市销率(TTM)历史分位图如下所示:



数据统计显示,华菱钢铁近三年营业总收入复合增长率为12.17%,在板材行业已披露2023年数据的6家公司中排名第2。近三年净利润复合年增长率为-7.40%,排名1/6。

资料显示,公司主营业务为钢材产品的生产和销售。
分产品来看,2023年公司主营业务中,板材收入699.18亿元,同比下降7.31%,占营业收入的42.51%;长材收入408.24亿元,同比下降10.73%,占营业收入的24.82%;钢管收入125.02亿元,同比下降7.14%,占营业收入的7.60%。

2023年,公司毛利率为9.40%,同比下降0.92个百分点;净利率为4.05%,较上年同期下降0.52个百分点。从单季度指标来看,2023年第四季度公司毛利率为8.17%,同比下降0.84个百分点,环比下降2.77个百分点;净利率为3.24%,较上年同期下降0.90个百分点,较上一季度下降1.70个百分点。

分产品看,板材、长材、钢管2023年毛利率分别为15.31%、4.90%、13.32%。
报告期内,公司前五大客户合计销售金额191.04亿元,占总销售金额比例为12.25%,公司前五名供应商合计采购金额324.56亿元,占年度采购总额比例为23.04%。

数据显示,2023年公司加权平均净资产收益率为9.87%,较上年同期下降3.55个百分点;公司2023年投入资本回报率为8.00%,较上年同期下降2.26个百分点。

2023年,公司经营活动现金流净额为52.73亿元,同比下降44.25%;筹资活动现金流净额59.89亿元,同比增加2.21亿元;投资活动现金流净额-159.97亿元,上年同期为-139.26亿元。
进一步统计发现,2023年公司自由现金流为-79.36亿元,上年同期为37.37亿元。

2023年,公司营业收入现金比为85.30%,净现比为103.82%。

营运能力方面,2023年,公司公司总资产周转率为1.30次,上年同期为1.49次(2022年行业平均值为1.09次,公司位居同行业3/17);固定资产周转率为3.19次,上年同期为3.63次(2022年行业平均值为2.21次,公司位居同行业3/17);公司应收账款周转率、存货周转率分别为33.57次、11.07次。

2023年,公司期间费用为90.57亿元,同比增长4.08亿元;期间费用率为5.53%,同比增长0.38个百分点。其中,销售费用同比下降3.24%,管理费用同比下降3.05%,研发费用同比增长6%,财务费用7207.28万元,去年同期-1802.02万元。

资产重大变化方面,截至2023年年末,公司一年内到期的非流动资产较上年末增加80.22%,占公司总资产比重上升5.19个百分点;货币资金较上年末减少49.67%,占公司总资产比重下降5.10个百分点;其他流动资产较上年末增加68.37%,占公司总资产比重上升2.09个百分点;在建工程较上年末减少13.71%,占公司总资产比重下降1.17个百分点。

负债重大变化方面,截至2023年年末,公司长期借款较上年末增加42.72%,占公司总资产比重上升2.58个百分点;一年内到期的非流动负债较上年末增加308.69%,占公司总资产比重上升1.45个百分点;短期借款较上年末减少33.89%,占公司总资产比重下降1.57个百分点;合同负债较上年末增加9.27%,占公司总资产比重下降0.08个百分点。

2023年全年,公司研发投入金额为68.31亿元,同比增长5.85%;研发投入占营业收入比例为4.17%,相比上年同期上升0.33个百分点。此外,公司全年研发投入资本化率为0.04%。


在偿债能力方面,公司2023年年末资产负债率为51.67%,相比上年末下降0.21个百分点;有息资产负债率为15.98%,相比上年末上升2.47个百分点。

2023年,公司流动比率为1.28,速动比率为1.00。

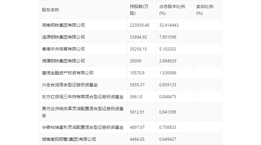
年报显示,2023年年末公司十大流通股东中,新进股东为东方红启恒三年持有期混合型证券投资基金,取代了三季度末的泰康人寿保险有限责任公司-投连-多策略优选。在具体持股比例上,兴全合润混合型证券投资基金、易方达供给改革灵活配置混合型证券投资基金持股有所上升,香港中央结算有限公司、华泰柏瑞富利灵活配置混合型证券投资基金持股有所下降。

筹码集中度方面,截至2023年年末,公司股东总户数为7.87万户,较三季度末增长了3224户,增幅4.27%;户均持股市值由三季度末的54.76万元下降至45.23万元,降幅为17.40%。

指标注解:
市盈率
=总市值/净利润。当公司亏损时市盈率为负,此时用市盈率估值没有实际意义,往往用市净率或市销率做参考。
市净率
=总市值/净资产。市净率估值法多用于盈利波动较大而净资产相对稳定的公司。
市销率
=总市值/营业收入。市销率估值法通常用于亏损或微利的成长型公司。
文中市盈率和市销率采用TTM方式,即以截至最近一期财报(含预报)12个月的数据计算。市净率采用LF方式,即以最近一期财报数据计算。
市盈率为负时,不显示当期分位数,会导致折线图中断。