龙虎榜丨华西股份今日跌5.11%,机构合计净卖出4311.42万元

http://ddx.gubit.cn  2023-06-29 16:46  华西股份(000936)公司分析

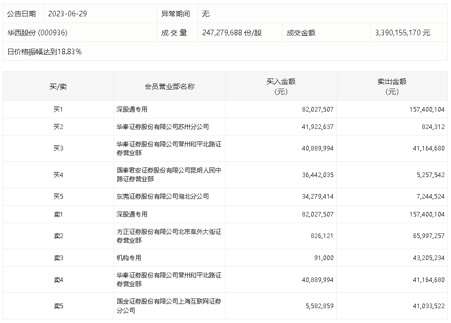
6月29日,华西股份今日跌5.11%,龙虎榜数据显示,上榜营业部席位全天成交6.04亿元,占当日总成交金额比例为17.82%。其中,买入金额为2.42亿元,卖出金额为3.62亿元,合计净卖出1.2亿元。

具体来看,机构买入9.1万元,卖出4320.52万元,合计净卖出4311.42万元。此外,深股通专用、方正证券北京阜外大街证券营业部分别卖出1.57亿元、6599.73万元;深股通专用、华泰证券苏州分公司分别买入8202.75万元、4192.26万元。