龙虎榜丨华西股份今日跌停,机构合计净卖出8446.68万元

http://ddx.gubit.cn  2023-07-12 20:12  华西股份(000936)公司分析

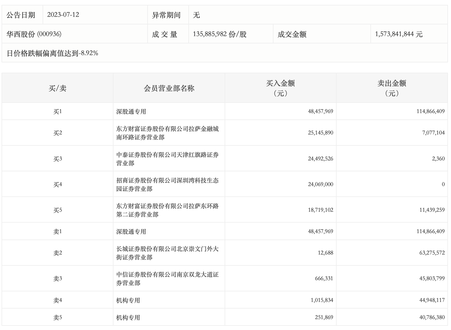
7月12日,华西股份今日跌停,龙虎榜数据显示,上榜营业部席位全天成交4.71亿元,占当日总成交金额比例为29.93%。其中,买入金额为1.43亿元,卖出金额为3.28亿元,合计净卖出1.85亿元。

具体来看,机构买入126.77万元,卖出8573.45万元,合计净卖出8446.68万元。此外,深股通专用、长城证券北京崇文门外大街证券营业部分别卖出1.15亿元、6327.56万元;深股通专用、东方财富证券拉萨金融城南环路证券营业部分别买入4845.80万元、2514.59万元。