龙虎榜丨华西股份今日涨停,知名游资宁波桑田路净买入3874.3万元

http://ddx.gubit.cn  2023-11-13 16:44  华西股份(000936)公司分析

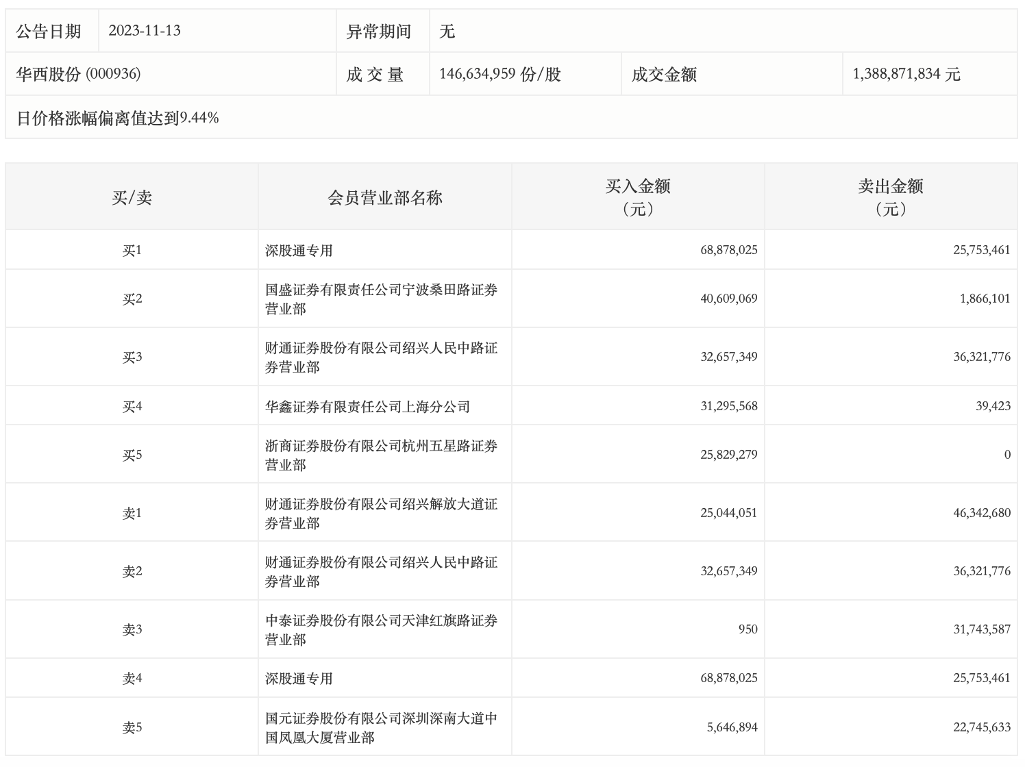
11月13日,华西股份今日涨停,龙虎榜数据显示,上榜营业部席位全天成交3.95亿元,占当日总成交金额比例为28.42%。其中,买入金额为2.3亿元,卖出金额为1.65亿元,合计净买入6514.85万元。

具体来看,知名游资现身龙虎榜,深股通专用、宁波桑田路(国盛证券宁波桑田路证券营业部)分别买入6887.80万元、4060.91万元;财通证券绍兴解放大道证券营业部、财通证券绍兴人民中路证券营业部分别卖出4634.27万元、3632.18万元。