冀中能源:2024年第一季度净利润7.08亿元 同比下降73.83%

中证智能财讯 冀中能源(000937)4月27日披露2024年一季报。2024年第一季度,公司实现营业总收入53.33亿元,同比下降32.71%;归母净利润7.08亿元,同比下降73.83%;扣非净利润7.04亿元,同比下降41.85%;经营活动产生的现金流量净额为3.08亿元,同比下降68.92%;报告期内,冀中能源基本每股收益为0.2004元,加权平均净资产收益率为3.09%。


2024年第一季度,公司毛利率为39.85%,同比上升2.60个百分点;净利率为16.19%,较上年同期下降20.32个百分点。

数据显示,2024年第一季度公司加权平均净资产收益率为3.09%,较上年同期下降8.94个百分点;公司2024年第一季度投入资本回报率为2.20%,较上年同期下降5.24个百分点。

2024年第一季度,公司经营活动现金流净额为3.08亿元,同比下降68.92%;筹资活动现金流净额16.53亿元,同比增加20.66亿元;投资活动现金流净额-4.92亿元,上年同期为2.67亿元。

2024年第一季度,公司营业收入现金比为102.64%,净现比为43.45%。

资产重大变化方面,截至2024年一季度末,公司固定资产较上年末减少0.57%,占公司总资产比重下降1.72个百分点;货币资金较上年末增加11.22%,占公司总资产比重上升1.50个百分点;应收账款较上年末增加16.56%,占公司总资产比重上升0.63个百分点;无形资产较上年末减少1.82%,占公司总资产比重下降0.60个百分点。

负债重大变化方面,截至2024年一季度末,公司应付债券较上年末增加91.52%,占公司总资产比重上升2.12个百分点;短期借款较上年末增加8.80%,占公司总资产比重上升0.74个百分点;一年内到期的非流动负债较上年末减少23.80%,占公司总资产比重下降0.64个百分点;合同负债较上年末减少12.36%,占公司总资产比重下降0.37个百分点。

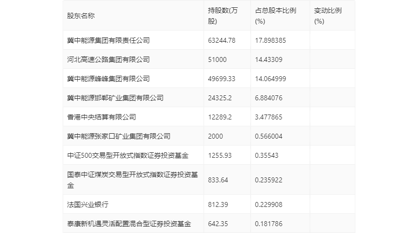
一季报显示,2024年一季度末公司十大流通股东中,新进股东为中证500交易型开放式指数证券投资基金、国泰中证煤炭交易型开放式指数证券投资基金、法国兴业银行、泰康新机遇灵活配置混合型证券投资基金,取代了上年末的华安策略优选混合型证券投资基金、张倍嘉、华安优势企业混合型证券投资基金、卞东辉。在具体持股比例上,香港中央结算有限公司持股有所下降。

筹码集中度方面,截至2024年一季度末,公司股东总户数为7.84万户,较上年末增长了8493户,增幅12.14%;户均持股市值由上年末的36.07万元下降至34.37万元,降幅为4.71%。
