龙虎榜丨紫光股份今日涨停,机构合计净卖出2728.39万元

查股网  2024-02-27 19:19  紫光股份(000938)个股分析

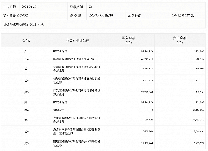
2月27日,紫光股份今日涨停,龙虎榜数据显示,上榜营业部席位全天成交5.57亿元,占当日总成交金额比例为21.08%。其中,买入金额为2.86亿元,卖出金额为2.7亿元,合计净买入1593.37万元。

具体来看,机构合计净卖出2728.39万元。此外,深股通专用、华鑫证券上海分公司分别买入1.54亿元、2992.50万元;深股通专用、方正证券瑞安罗阳大道证券营业部分别卖出1.78亿元、2706.14万元。