紫光股份:2023年净利同比下降2.54% 拟10派1.4元

中证智能财讯 紫光股份(000938)4月30日披露2023年年报。2023年,公司实现营业总收入773.08亿元,同比增长4.39%;归母净利润21.03亿元,同比下降2.54%;扣非净利润16.75亿元,同比下降4.80%;经营活动产生的现金流量净额为-18.57亿元,上年同期为40.19亿元;报告期内,紫光股份基本每股收益为0.735元,加权平均净资产收益率为6.39%。公司2023年年度利润分配预案为:拟向全体股东每10股派1.4元(含税)。

以4月29日收盘价计算,紫光股份目前市盈率(TTM)约为28.64倍,市净率(LF)约为1.77倍,市销率(TTM)约为0.78倍。

公司近年市盈率(TTM)、市净率(LF)、市销率(TTM)历史分位图如下所示:



数据统计显示,紫光股份近三年营业总收入复合增长率为8.76%,在IT服务Ⅲ行业已披露2023年数据的131家公司中排名第38。近三年净利润复合年增长率为5.09%,排名39/131。

分产品来看,2023年公司主营业务中,ICT基础设施及服务收入515.06亿元,同比增长10.15%,占营业收入的66.63%;IT产品分销与供应链服务收入291.32亿元,同比下降9.83%,占营业收入的37.68%。

截至2023年末,公司员工总数为19186人,人均创收402.94万元,人均创利10.96万元,人均薪酬51.07万元,较上年同期分别变化0.65%、-6.03%、15.24%。

2023年,公司毛利率为19.60%,同比下降1.04个百分点;净利率为4.77%,较上年同期下降0.28个百分点。从单季度指标来看,2023年第四季度公司毛利率为18.83%,同比下降0.10个百分点,环比下降0.28个百分点;净利率为4.41%,较上年同期上升0.22个百分点,较上一季度下降0.32个百分点。

分产品看,ICT基础设施及服务、IT产品分销与供应链服务2023年毛利率分别为25.58%、6.40%。

报告期内,公司前五大客户合计销售金额214.94亿元,占总销售金额比例为27.80%,公司前五名供应商合计采购金额274.71亿元,占年度采购总额比例为38.62%。

数据显示,2023年公司加权平均净资产收益率为6.39%,较上年同期下降0.59个百分点;公司2023年投入资本回报率为7.50%,较上年同期下降1.49个百分点。

2023年,公司经营活动现金流净额为-18.57亿元,同比减少58.76亿元;筹资活动现金流净额53.45亿元,同比增加74.54亿元;投资活动现金流净额6.55亿元,上年同期为3822.3万元。
进一步统计发现,2023年公司自由现金流为-14.26亿元,上年同期为37.17亿元。

2023年,公司营业收入现金比为132.91%,净现比为-88.31%。

营运能力方面,2023年,公司公司总资产周转率为0.96次,上年同期为1.05次(2022年行业平均值为0.47次,公司位居同行业9/135);固定资产周转率为73.75次,上年同期为75.39次(2022年行业平均值为10.93次,公司位居同行业12/135);公司应收账款周转率、存货周转率分别为5.70次、2.58次。

2023年,公司期间费用为120.94亿元,较上年同期增加9.46亿元;期间费用率为15.64%,较上年同期上升0.59个百分点。其中,销售费用同比增长0.84%,管理费用同比增长44.4%,研发费用同比增长6.5%,财务费用同比增长21.74%。

资产重大变化方面,截至2023年年末,公司存货较上年末增加37.78%,占公司总资产比重上升4.64个百分点;货币资金较上年末增加37.88%,占公司总资产比重上升2.45个百分点;交易性金融资产较上年末减少78.01%,占公司总资产比重下降1.57个百分点;应收账款较上年末增加8.29%,占公司总资产比重下降1.42个百分点。

负债重大变化方面,截至2023年年末,公司长期借款较上年末增加2440.59%,占公司总资产比重上升5.56个百分点;合同负债较上年末增加44.44%,占公司总资产比重上升2.55个百分点;短期借款较上年末增加50.47%,占公司总资产比重上升1.56个百分点;应付账款较上年末增加19.40%,占公司总资产比重上升0.18个百分点。

2023年全年,公司研发投入金额为56.43亿元,同比增长6.50%;研发投入占营业收入比例为7.30%,相比上年同期上升0.14个百分点。


2023年,紫光股份的商誉达到139.92亿元,相当于同期公司净资产339.46亿元的41.22%。
在偿债能力方面,公司2023年年末资产负债率为54.11%,相比上年末上升5.19个百分点;有息资产负债率为14.02%,相比上年末上升7.19个百分点。

2023年,公司流动比率为1.62,速动比率为0.91。

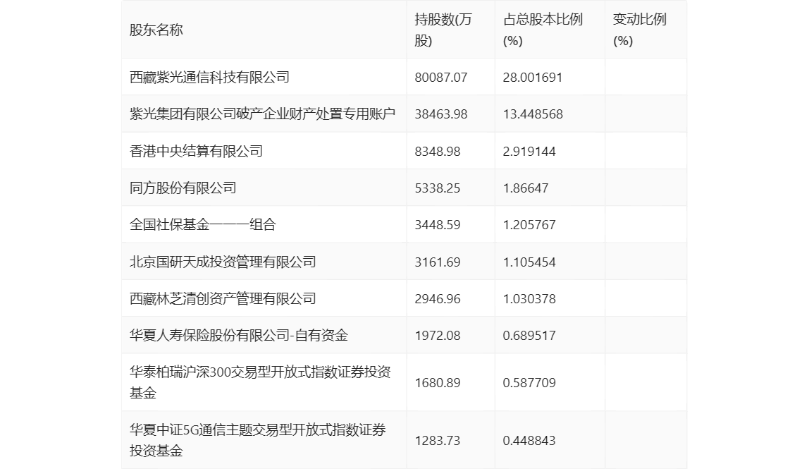
年报显示,2023年年末公司十大流通股东中,新进股东为华泰柏瑞沪深300交易型开放式指数证券投资基金、华夏中证5G通信主题交易型开放式指数证券投资基金,取代了三季度末的全国社保基金一一三组合、基本养老保险基金八零二组合。在具体持股比例上,紫光集团有限公司破产企业财产处置专用账户、香港中央结算有限公司、全国社保基金一一一组合、华夏人寿保险股份有限公司-自有资金持股有所下降。

筹码集中度方面,截至2023年年末,公司股东总户数为17.45万户,较三季度末增长了2.52万户,增幅16.89%;户均持股市值由三季度末的45.15万元下降至31.71万元,降幅为29.77%。

指标注解:
市盈率
=总市值/净利润。当公司亏损时市盈率为负,此时用市盈率估值没有实际意义,往往用市净率或市销率做参考。
市净率
=总市值/净资产。市净率估值法多用于盈利波动较大而净资产相对稳定的公司。
市销率
=总市值/营业收入。市销率估值法通常用于亏损或微利的成长型公司。
文中市盈率和市销率采用TTM方式,即以截至最近一期财报(含预报)12个月的数据计算。市净率采用LF方式,即以最近一期财报数据计算。
市盈率为负时,不显示当期分位数,会导致折线图中断。