龙虎榜丨中通客车今日跌6.9%,上榜营业部席位全天成交9277.88万元

http://ddx.gubit.cn  2023-03-13 17:08  中通客车(000957)公司分析

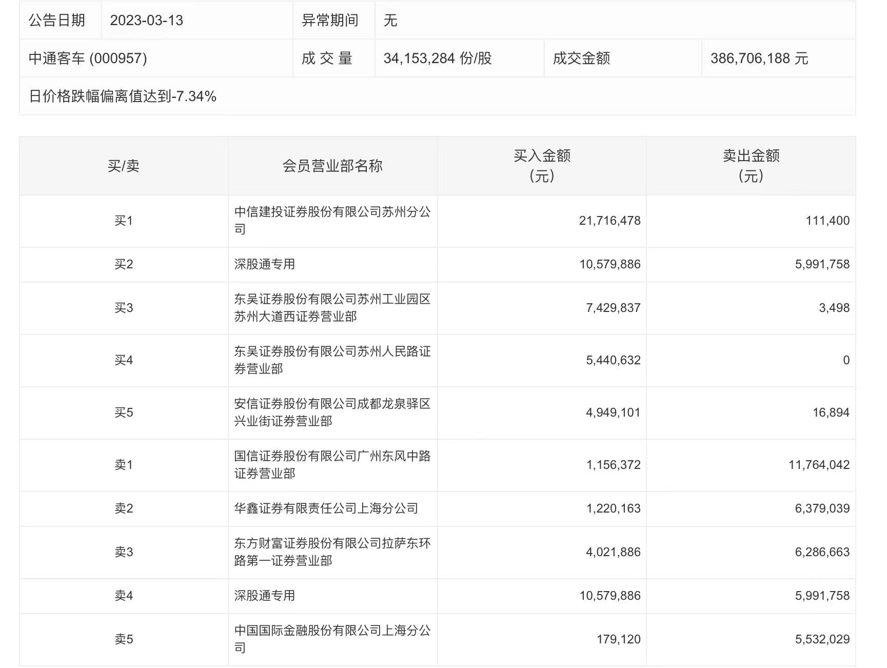
3月13日,中通客车今日跌6.9%,龙虎榜数据显示,上榜营业部席位全天成交9277.88万元,占当日总成交金额比例为23.99%。其中,买入金额为5669.35万元,卖出金额为3608.53万元,合计净买入2060.82万元。

具体来看,国信证券广州东风中路证券营业部、华鑫证券上海分公司分别卖出1176.40万元、637.90万元;中信建投证券苏州分公司、深股通专用分别买入2171.65万元、1057.99万元。