龙虎榜丨中通客车今日涨停,宁波桑田路净买入4174.17万元

http://ddx.gubit.cn  2023-07-11 16:52  中通客车(000957)公司分析

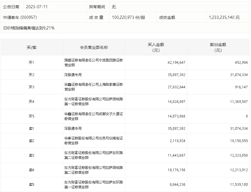
7月11日,中通客车今日涨停,龙虎榜数据显示,上榜营业部席位全天成交2.65亿元,占当日总成交金额比例为21.46%。其中,买入金额为1.67亿元,卖出金额为9804.85万元,合计净买入6854.73万元。

具体来看,知名游资现身龙虎榜,宁波桑田路(国盛证券宁波桑田路证券营业部)、深股通专用分别买入4219.46万元、3508.74万元;深股通专用、华泰证券北京月坛南街证券营业部分别卖出3107.43万元、1815.86万元。