华东医药:2024年第一季度净利润8.62亿元 同比增长14.18%

中证智能财讯 华东医药(000963)4月26日披露2024年一季报。2024年第一季度,公司实现营业总收入104.11亿元,同比增长2.93%;归母净利润8.62亿元,同比增长14.18%;扣非净利润8.38亿元,同比增长10.66%;经营活动产生的现金流量净额为-4.85亿元,上年同期为-2.46亿元;报告期内,华东医药基本每股收益为0.4929元,加权平均净资产收益率为4.01%。


2024年第一季度,公司毛利率为32.03%,同比下降0.83个百分点;净利率为8.26%,较上年同期上升0.75个百分点。

数据显示,2024年第一季度公司加权平均净资产收益率为4.01%,较上年同期增长0.02个百分点;公司2024年第一季度投入资本回报率为3.60%,较上年同期下降0.03个百分点。

2024年第一季度,公司经营活动现金流净额为-4.85亿元,同比减少2.38亿元;筹资活动现金流净额7149.63万元,同比增加9.21亿元;投资活动现金流净额-7.07亿元,上年同期为-4.4亿元。

2024年第一季度,公司营业收入现金比为96.81%,净现比为-56.18%。

资产重大变化方面,截至2024年一季度末,公司应收账款较上年末增加29.81%,占公司总资产比重上升5.83个百分点;货币资金较上年末减少23.59%,占公司总资产比重下降3.58个百分点;应收款项融资较上年末减少41.21%,占公司总资产比重下降1.83个百分点;固定资产较上年末减少2.17%,占公司总资产比重下降0.61个百分点。

负债重大变化方面,截至2024年一季度末,公司其他应付款(含利息和股利)较上年末增加15.54%,占公司总资产比重上升0.92个百分点;应付票据较上年末减少16.76%,占公司总资产比重下降0.99个百分点;短期借款较上年末增加31.76%,占公司总资产比重上升0.69个百分点;一年内到期的非流动负债较上年末减少41.72%,占公司总资产比重下降0.46个百分点。

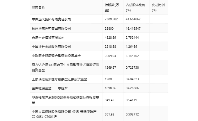
一季报显示,2024年一季度末公司十大流通股东中,新进股东为华泰柏瑞沪深300交易型开放式指数证券投资基金、中国人寿保险股份有限公司-传统-普通保险产品-005L-CT001沪,取代了上年末的新华人寿保险股份有限公司-传统-普通保险产品-018L-CT001深、银华中证创新药产业交易型开放式指数证券投资基金。在具体持股比例上,中国远大集团有限责任公司、杭州华东医药集团有限公司、香港中央结算有限公司、中国证券金融股份有限公司持股有所上升,中欧医疗健康混合型证券投资基金、易方达沪深300医药卫生交易型开放式指数证券投资基金、工银瑞信前沿医疗股票型证券投资基金、全国社保基金一一零组合持股有所下降。

筹码集中度方面,截至2024年一季度末,公司股东总户数为9.38万户,较上年末增长了1.67万户,增幅21.62%;户均持股市值由上年末的94.28万元下降至57.96万元,降幅为38.52%。
