龙虎榜丨中基健康今日跌停,知名游资章盟主净卖出987.28万元

查股网  2024-02-07 17:37  中基健康(000972)个股分析

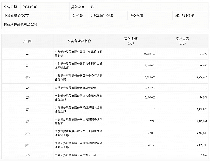
2月7日,中基健康今日跌停,龙虎榜数据显示,上榜营业部席位全天成交1.11亿元,占当日总成交金额比例为24.03%。其中,买入金额为3812.42万元,卖出金额为7293.96万元,合计净卖出3481.54万元。

具体来看,知名游资现身龙虎榜,章盟主(国泰君安证券股份有限公司上海江苏路证券营业部)净卖出987.28万元。此外,东莞证券清远凤翔大道证券营业部、中信证券上海凯滨路证券营业部分别卖出2283.89万元、1784.96万元;东方证券厦门仙岳路证券营业部、东北证券绍兴金柯桥大道证券营业部分别买入1153.27万元、950.54万元。