龙虎榜 | 中基健康今日跌停,机构合计净卖出668.25万元

查股网  2024-02-08 19:37  中基健康(000972)个股分析

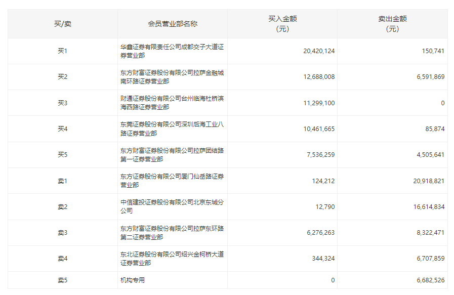
2月8日,中基健康今日跌停,全天换手率达21.27%,振幅达7.86%。龙虎榜数据显示,营业部席位合计净卖出141.79万元。其中,机构合计净卖出668.25万元。此外,东方证券厦门仙岳路证券营业部、中信建投证券北京东城分公司分别卖出2091.88万元、1661.48万元;华鑫证券成都交子大道证券营业部、东方财富证券拉萨金融城南环路证券营业部分别买入2042.01万元、1268.80万元。