浪潮信息:2024年上半年净利润5.97亿元 同比增长90.56%

中证智能财讯 浪潮信息(000977)8月24日披露2024年半年度报告。2024年上半年,公司实现营业收入420.64亿元,同比增长68.71%;归母净利润5.97亿元,同比增长90.56%;扣非净利润4.22亿元,同比扭亏;经营活动产生的现金流量净额为-45.01亿元,上年同期为-51.75亿元;报告期内,浪潮信息基本每股收益为0.4055元,加权平均净资产收益率为3.27%。
公告称,公司营业收入变化主要由于客户需求增加,服务器销售增长。
以8月23日收盘价计算,浪潮信息目前市盈率(TTM)约为22.57倍,市净率(LF)约为2.53倍,市销率(TTM)约为0.56倍。

公司近年市盈率(TTM)、市净率(LF)、市销率(TTM)历史分位图如下所示:



根据半年报,公司第二季度实现营业总收入244.57亿元,同比增长58.49%,环比增长38.91%;归母净利润2.91亿元,同比增长129.01%,环比下降5.19%;扣非净利润1.82亿元,同比增长222.60%,环比下降24.17%。

半年报称,2024年,公司持续聚焦云计算、大数据、人工智能为代表的智慧计算,在研发、生产、交付、服务模式等方面持续创新,各项业务保持快速增长势头。
分产品来看,2024年上半年公司主营业务中,服务器及部件收入418.81亿元,同比增长70.95%,占营业收入的99.57%;IT终端及散件收入0.62亿元,同比下降66.53%,占营业收入的0.15%。

2024年上半年,公司毛利率为7.74%,同比下降3.61个百分点;净利率为1.37%,较上年同期上升0.17个百分点。从单季度指标来看,2024年第二季度公司毛利率为7.50%,同比下降3.02个百分点,环比下降0.58个百分点;净利率为1.15%,较上年同期上升0.31个百分点,较上一季度下降0.53个百分点。

分产品看,服务器及部件、IT终端及散件2024年上半年毛利率分别为7.65%、5.98%。

盈利能力方面, 2024年半年度公司加权平均净资产收益率为3.27%,同比上升1.37个百分点。公司2024年上半年投入资本回报率为2.02%,较上年同期上升1.33个百分点。

2024年上半年,公司经营活动现金流净额为-45.01亿元,同比增加6.74亿元;筹资活动现金流净额13.57亿元,同比减少52.45亿元;投资活动现金流净额-1.02亿元,上年同期为-4.39亿元。
进一步统计发现,2024年上半年公司自由现金流为-26.73亿元,上年同期为-27.64亿元。

2024年上半年,公司营业收入现金比为115.82%,净现比为-753.92%。

营运能力方面,2024年上半年,公司公司总资产周转率为0.76次,上年同期为0.55次(2023年上半年行业平均值为0.17次,公司位居同行业3/63);固定资产周转率为17.43次,上年同期为20.44次(2023年上半年行业平均值为4.41次,公司位居同行业10/63);公司应收账款周转率、存货周转率分别为3.70次、1.52次。

2024年上半年,公司期间费用为23.20亿元,较上年同期减少6509.03万元;期间费用率为5.51%,较上年同期下降4.06个百分点。其中,销售费用同比增长2.66%,管理费用同比下降22.91%,研发费用同比下降3.84%,财务费用由去年同期的-1.16亿元变为-5234.35万元。
资料显示,财务费用的变动主要因为本期利息支出增加及汇率波动导致的汇兑收益增加。

资产重大变化方面,截至2024年上半年末,公司货币资金较上年末减少26.25%,占公司总资产比重下降10.92个百分点;存货较上年末增加66.92%,占公司总资产比重上升10.82个百分点;应收账款较上年末增加49.43%,占公司总资产比重上升2.64个百分点;预付款项较上年末减少76.98%,占公司总资产比重下降1.44个百分点。

负债重大变化方面,截至2024年上半年末,公司应付账款较上年末增加105.69%,占公司总资产比重上升10.80个百分点;合同负债较上年末增加303.90%,占公司总资产比重上升8.27个百分点;应付票据较上年末减少100.00%,占公司总资产比重下降5.64个百分点;短期借款较上年末增加114.37%,占公司总资产比重上升2.71个百分点。

从存货变动来看,截至2024年上半年末,公司存货账面价值为319.05亿元,占净资产的173.36%,较上年末增加127.91亿元。其中,存货跌价准备为11.51亿元,计提比例为3.48%。

在偿债能力方面,公司2024年上半年末资产负债率为70.34%,相比上年末上升8.34个百分点;有息资产负债率为20.00%,相比上年末下降4.61个百分点。

2024年上半年,公司流动比率为1.58,速动比率为0.72。

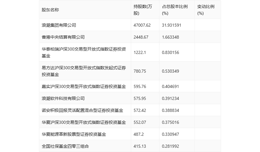
半年报显示,2024年上半年末公司十大流通股东中,新进股东为浪潮软件科技有限公司、华夏沪深300交易型开放式指数证券投资基金、全国社保基金四零三组合,取代了一季度末的诺安成长混合型证券投资基金、银河创新成长混合型证券投资基金、招商优势企业灵活配置混合型证券投资基金。在具体持股比例上,华泰柏瑞沪深300交易型开放式指数证券投资基金、易方达沪深300交易型开放式指数发起式证券投资基金持股有所上升,香港中央结算有限公司、嘉实沪深300交易型开放式指数证券投资基金、诺安积极回报灵活配置混合型证券投资基金、华夏能源革新股票型证券投资基金持股有所下降。

筹码集中度方面,截至2024年上半年末,公司股东总户数为30.23万户,较一季度末下降了1.97万户,降幅6.11%;户均持股市值由一季度末的19.61万元下降至17.71万元,降幅为9.69%。

指标注解:
市盈率
=总市值/净利润。当公司亏损时市盈率为负,此时用市盈率估值没有实际意义,往往用市净率或市销率做参考。
市净率
=总市值/净资产。市净率估值法多用于盈利波动较大而净资产相对稳定的公司。
市销率
=总市值/营业收入。市销率估值法通常用于亏损或微利的成长型公司。
文中市盈率和市销率采用TTM方式,即以截至最近一期财报(含预报)12个月的数据计算。市净率采用LF方式,即以最近一期财报数据计算。
市盈率为负时,不显示当期分位数,会导致折线图中断。