山子高科:2024年第一季度盈利4.58亿元 同比扭亏

中证智能财讯 山子高科(000981)4月30日披露2024年一季报。2024年第一季度,公司实现营业总收入11.80亿元,同比增长2.07%;归母净利润4.58亿元,同比扭亏;扣非净利润1096.60万元,同比扭亏;经营活动产生的现金流量净额为6.60亿元,上年同期为-4.36亿元;报告期内,山子高科基本每股收益为0.046元,加权平均净资产收益率为14.52%。


2024年第一季度,公司毛利率为20.20%,同比上升4.68个百分点;净利率为38.11%,较上年同期上升56.85个百分点。

数据显示,2024年第一季度公司加权平均净资产收益率为14.52%,较上年同期增长18.90个百分点;公司2024年第一季度投入资本回报率为4.81%,较上年同期增长6.15个百分点。

2024年第一季度,公司经营活动现金流净额为6.60亿元,同比增加10.95亿元;筹资活动现金流净额-2013.97万元,同比减少7244.94万元;投资活动现金流净额-8921.95万元,上年同期为-1.17亿元。

2024年第一季度,公司营业收入现金比为167.41%,净现比为144.03%。

资产重大变化方面,截至2024年一季度末,公司货币资金较上年末增加100.37%,占公司总资产比重上升3.37个百分点;其他应收款(含利息和股利)较上年末增加90.51%,占公司总资产比重上升1.91个百分点;固定资产较上年末减少3.55%,占公司总资产比重下降1.00个百分点;存货较上年末减少1.08%,占公司总资产比重下降0.96个百分点。

负债重大变化方面,截至2024年一季度末,公司长期递延收益较上年末增加213.93%,占公司总资产比重上升1.87个百分点;应付账款较上年末增加5.80%,占公司总资产比重上升0.20个百分点;其他流动负债较上年末减少31.91%,占公司总资产比重下降0.63个百分点;应付职工薪酬较上年末减少32.88%,占公司总资产比重下降0.57个百分点。

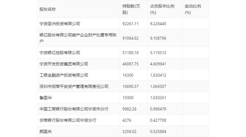
一季报显示,2024年一季度末公司十大流通股东中,新进股东为浙商银行股份有限公司宁波分行、颜国兵,取代了上年末的曾秋、香港中央结算有限公司。在具体持股比例上,工银金融资产投资有限公司持股有所上升,宁波银亿控股有限公司持股有所下降。

筹码集中度方面,截至2024年一季度末,公司股东总户数为6.08万户,较上年末增长了2918户,增幅5.04%;户均持股市值由上年末的27.45万元下降至26.46万元,降幅为3.61%。
