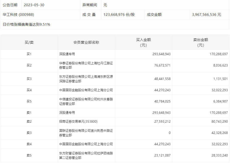
龙虎榜 | 华工科技今日涨停,上榜营业部席位合计净买入1.85亿元

http://ddx.gubit.cn  2023-05-30 16:42  华工科技(000988)公司分析

5月30日,华工科技今日涨停,龙虎榜数据显示,上榜营业部席位全天成交9.24亿元,占当日总成交金额比例为23.28%。其中,买入金额为5.55亿元,卖出金额为3.69亿元,合计净买入1.85亿元。

具体来看,深股通专用、华泰证券上海牡丹江路证券营业部分别买入2.94亿元、7667.26万元;深股通专用、招商证券交易单元(353800)分别卖出1.70亿元、8074.33万元。