东瑞股份:12月22日高管曾东强、蒋荣彪减持股份合计4万股
证券之星消息,根据12月23日市场公开信息、上市公司公告及交易所披露数据整理,东瑞股份(001201)最新董监高及相关人员股份变动情况:2025年12月22日公司董秘,董事,高管曾东强、董事,高管蒋荣彪共减持公司股份4.0万股,占公司总股本为0.0156%。变动期间公司股价下跌0.88%,12月22日当日收盘报14.66元。
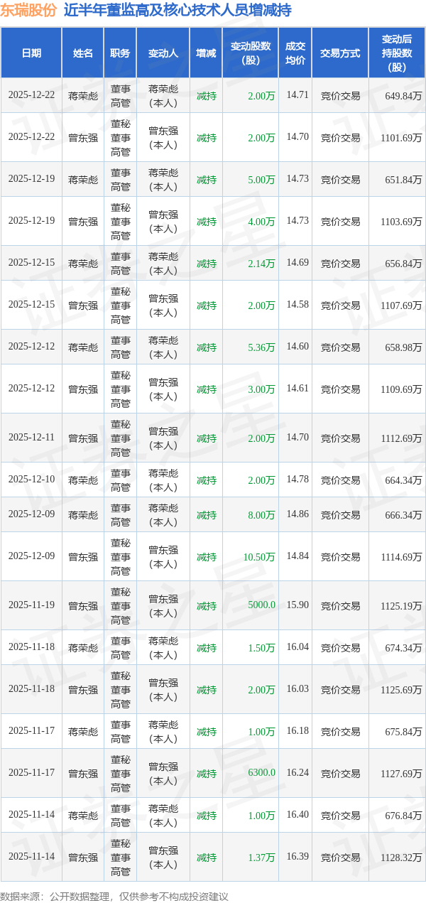
东瑞股份近半年内的董监高及核心技术人员增减持详情如下:

东瑞股份的高管列表及最新持股情况如下:

该股最近90天内无机构评级。
以上内容为证券之星据公开信息整理,由AI算法生成(网信算备310104345710301240019号),不构成投资建议。