龙虎榜丨华尔泰今日跌9.33%,营业部席位合计净买入520.36万元

查股网  2024-01-26 22:45  华尔泰(001217)个股分析

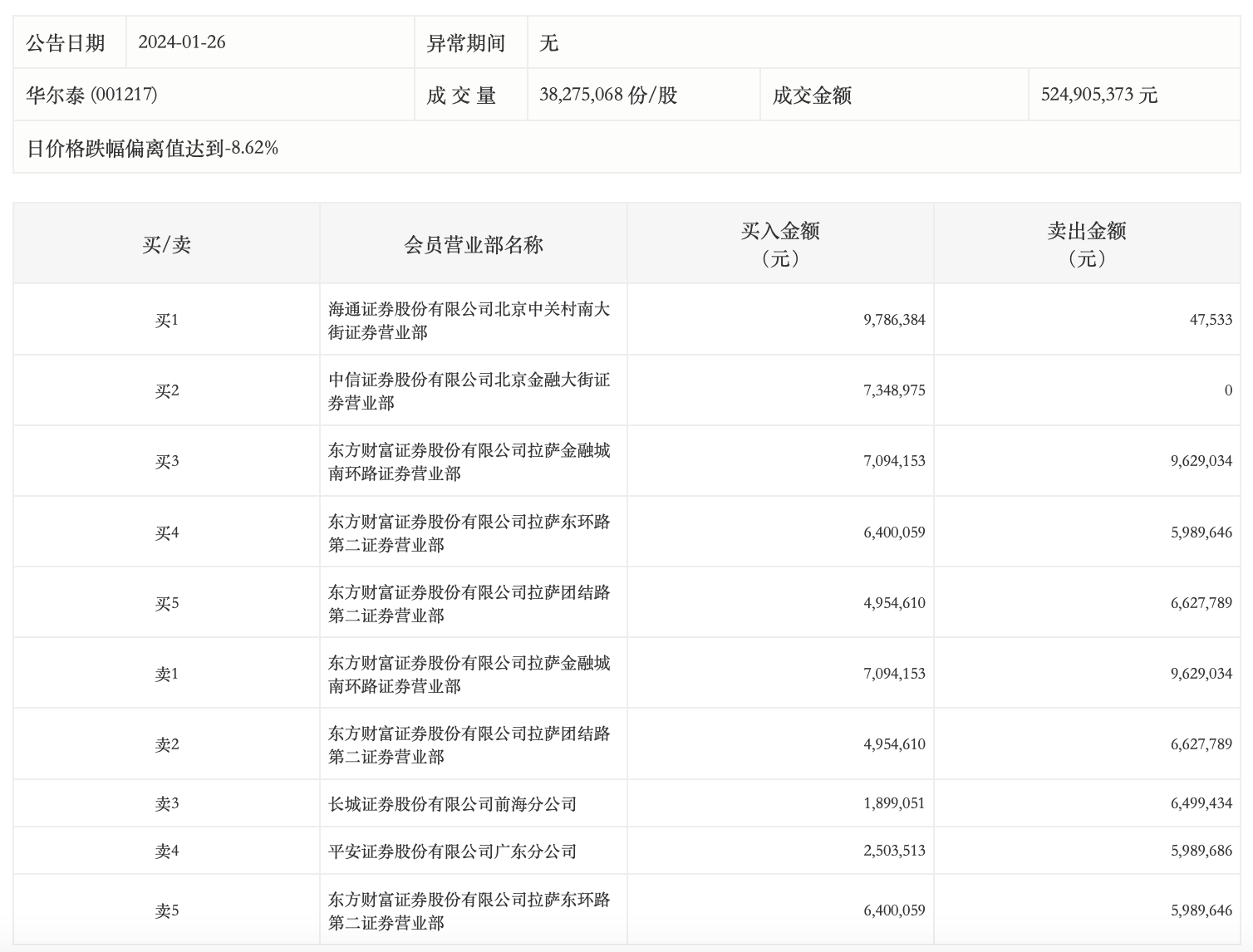
1月26日,华尔泰今日跌9.33%,全天换手率达28.79%,振幅达9.74%。龙虎榜数据显示,营业部席位合计净买入520.36万元。其中,东方财富证券拉萨金融城南环路证券营业部、东方财富证券拉萨团结路第二证券营业部分别卖出962.90万元、662.78万元;海通证券北京中关村南大街证券营业部、中信证券北京金融大街证券营业部分别买入978.64万元、734.90万元。