11亿巨额贷款给了千里之外的3家“空壳公司” 兰州银行为哪般?
2018年,上市公司华明装备(002270.SZ)以近3.98亿元的代价收购了贵州长征电气有限公司100%的股权。不过最近,华明装备发布公告称,计划以100万元的价格,转让长征电气100%股权。
不到6年时间,一买一卖就损失将近4个亿。
原来去年底,华明装备才发现在收购长征电气前,这家公司已经为兰州银行在浙江杭州的一笔2亿元的贷款提供了担保。
贷款方叫杭州荷修贸易有限公司,如今,兰州银行起诉杭州荷修,并要求长征电气作为担保方承担连带担保责任。
而根据第一财经调查发现,兰州银行为杭州多家“空壳公司”发放了一共11亿贷款,而这些贷款目前都处于违约状态。

突然冒出来的巨额担保
2024年11月13日,华明装备公告,自己100%控股的长征电气成了被告。原告兰州三维汇成置业有限公司称,2017年5月27日,兰州银行金汇支行与杭州荷修贸易有限公司签订《借款合同》,约定兰州银行向荷修贸易公司提供借款金额2亿元,期限三年,借款年利率为5.4%,按月结息,借款到期,利随本清。
同日,兰州银行与威海银河风力发电有限公司、四川都江机械有限责任公司、北海银河生物产业投资股份有限公司、天成控股、江西变压器科技股份有限公司、广西柳州特种变压器有限责任公司、四川永星电子有限公司、长征电气、北海银河开关设备有限公司签订《保证合同》,约定前述公司为荷修贸易公司在兰州银行处的2亿元借款本金及利息(包括复利和罚息)、违约金、赔偿金、债务人向债权人支付的其他款项、债权人实现债权与担保权利而发生的费用等承担连带保证责任,保证期间为主债务履行期间届满之日起两年。
兰州银行依约发放2亿元贷款,但合同期满后,借款人未按约定履行还款义务,各担保人也未履行代偿义务。2020年12月23日,兰州三维汇成置业有限公司与兰州银行签订《债权转让协议》,受让兰州银行上述债权。

华明装备称,担保事项发生在收购长征电气之前,且原股东天成控股未如实向公司披露本案中所涉及的长征电气对外担保事项。
今年4月,华明装备经过研究,认为长征电气目前存在的诉讼事项较为复杂且存在不确定性,可能对公司财务数据造成不确定性影响,为规避潜在法律风险,决定出售长征电气全部股权。
但是,根据第一财经的报道,当时,兰州银行发放的贷款并不止2亿元。同样是在2017年5月27日,兰州银行及其分支机构还向另两外家杭州“迷你”贸易公司——杭州木东贸易有限公司、杭州都昂贸易有限公司,分别贷款6亿元和3亿元,期限均为3年。
在上述这两笔贷款中,长征电气也是担保人之一。
兰州银行给杭州荷修的2亿元贷款,目前已经进入法律诉讼程序,后面两笔,尚未起诉。
杭州荷修实缴资本为50万,参保人数为0;杭州都昂实缴资本3万元,参保人数为0;杭州木东实缴资本为0,参保人数为0,而且已经成了失信被执行人。
兰州银行为何要给远在千里之外的3家空壳公司提供11亿的巨额贷款呢?

围绕建新矿业破产重整组成的利益联盟
第一财经通过调查发现,杭州荷修等三家借款企业表面上互不相干,但实际上却与国城控股集团有限公司及其实控人吴城,存在千丝万缕的联系。
国城控股是上市公司国城矿业控股股东,合计持股比例超过70%,吴城今年40岁,为国城控股董事长。
而国城控股幕后真正的操盘方是扎根西部多年的银帝集团有限公司,吴城曾任银帝集团高级顾问、首席战略官。
兰州银行当时发放的这11亿元贷款,被国城控股用于甘肃建新实业集团有限公司重整事项,从而获取了上市公司建新矿业(国诚矿业前身)控股权。
而为国城控股这笔贷款提供担保的一共有12家企业和4名自然人。
12家担保公司隶属于国城控股幕后银帝集团,被重整的建新集团,以及长征电气原大股东银河天成集团有限公司。
4名自然人包括银河天成股东潘琦、潘勇、姚国平(潘琦、潘勇为兄弟关系,姚国平是潘琦的妹夫),以及建新集团实控人刘建民。

银帝集团属于国城控股幕后操盘方,建新集团属于被重整对象,为上述巨额贷款提供担保还能理解,银河天成因何要拿长征电气为第三方提供担保呢?
原来,建新集团最早的重组方是银河天成,但是后来被国城控股捷足先登。最终围绕建新集团破产重组,国城控股(银帝集团)、建新集团、银河天成三方组成了利益共同体。
贷款风控被质疑
2016年6月,兰州银行递交上市申请,2022年1月在深交所上市,是甘肃省首家A股上市银行。
2017年发放这11亿贷款的时候,正是上市关键时期,但是上述为贷款提供担保的3方,已经有2方陷入财务危机。
被破产重整的建新集团自不必说,实控人刘建民早已经成了失信被执行人,被限制高消费。
银河天成集团曾经控制两家上市公司,分别是天成控股和银河生物,在2017年前就已经巨额亏损,被监管部门多次处罚,实控人潘琦被市场禁入。
银河天成集团早在2016年,即已出现资金链危机。2018年,银河集团收购 "啄米理财"、" 有理树 "、"宏亚金融" 三家P2P平台,通过发布虚假标的、以高额回报为诱饵向公众非法集资,最终被杭州市拱墅区法院认定犯集资诈骗罪,作为主犯的姚国平,最后获刑15年。

三家借款公司纯粹是空壳公司,三家担保方中有两家陷入财务危机,兰州银行却“高效”发放了11亿巨额贷款。
兰州银行招股书显示,建新集团在2016年兰州银行首次IPO申报时为该行第八大股东,实控人刘建民其时担任该行董事。

多家关联贷款方成失信人
2022年1月上市以来,兰州银行股价就跌跌不休,最新价格为2.49元/股,市值为141亿。
2024年,兰州银行营业收入78.54亿,下降2.02%,净利润19.42亿,增长1.54%,资产总额4862.85亿,发放贷款余额1939.68亿,不良贷款率1.83%。
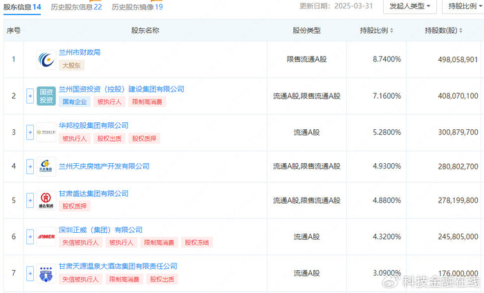
其中给予关联方授信贷款余额171.04亿,甘肃盛达集团授信余额29.63亿,兰州国资投资(控股)建设集团有限公司授信余额24.3亿,华邦控股集团授信余额20.49亿,甘肃天源温泉大酒店授信余额5.18亿。此外,深圳正威(集团)有限公司授信余额14.7亿,正威集团的关联关系需延续12个月,至关联关系解除。
上述关联方中,兰州国资投资集团、华邦控股集团、甘肃天源温泉大酒店、深圳正威集团都已经成了失信被执行人。

2024年底,兰州银行关联方交易余额为162.48亿,其中,兰州国资投资(控股)建设集团有限公司及其关联公司为24.3亿,华邦控股集团有限公司及其关联公司为20.56亿。

今年3月初,兰州银行一口气聘任了包括行长和三名副行长在内的四名高管。
其中,聘任刘敏为行长,聘任李涛、韩佳峻、盛柏涵三人为副行长。在上述四人任职资格获批后,该行高管形成一正五副的格局,除去行长刘敏外,五名副行长分别为程艺、刘靖、李涛、韩佳峻、盛柏涵。其中,程艺为挂职副行长,刘靖是上一届资历稍老的副行长,从2019年3月起就担任该行副行长。