立新能源:2023年净利润同比下降31.01% 拟10派0.8元

中证智能财讯 立新能源(001258)3月16日披露2023年年报。2023年,公司实现营业总收入9.90亿元,同比增长12.25%;归母净利润1.35亿元,同比下降31.01%;扣非净利润1.30亿元,同比下降33.42%;经营活动产生的现金流量净额为5.04亿元,同比下降37.96%;报告期内,立新能源基本每股收益为0.14元,加权平均净资产收益率为4.66%。公司2023年年度利润分配预案为:拟向全体股东每10股派0.8元(含税)。

以3月15日收盘价计算,立新能源目前市盈率(TTM)约为49.97倍,市净率(LF)约为2.3倍,市销率(TTM)约为6.83倍。

公司近年市盈率(TTM)、市净率(LF)、市销率(TTM)历史分位图如下所示:



数据统计显示,立新能源近三年营业总收入复合增长率为14.86%,近三年净利润复合年增长率为5.79%。

资料显示,公司的主营业务为风力发电、光伏发电项目的投资、开发、建设和运营。
分产品来看,2023年公司主营业务中,风力发电收入5.78亿元,同比增长9.27%,占营业收入的58.42%;光伏发电收入4.01亿元,同比增长14.04%,占营业收入的40.50%。

2023年,公司毛利率为58.04%,同比下降1.41个百分点;净利率为13.70%,较上年同期下降8.52个百分点。从单季度指标来看,2023年第四季度公司毛利率为39.60%,同比上升7.43个百分点,环比下降24.45个百分点;净利率为-33.21%,较上年同期下降38.18个百分点,较上一季度下降66.23个百分点。

数据显示,2023年公司加权平均净资产收益率为4.66%,较上年同期下降3.70个百分点;公司2023年投入资本回报率为3.22%,较上年同期下降1.65个百分点。

2023年,公司经营活动现金流净额为5.04亿元,同比下降37.96%;筹资活动现金流净额-7426.03万元,同比减少16.51亿元;投资活动现金流净额-11.00亿元,上年同期为-18.09亿元。
进一步统计发现,2023年公司自由现金流为-5.83亿元,上年同期为-11.88亿元。

2023年,公司营业收入现金比为78.75%,净现比为372.70%。

营运能力方面,2023年,公司总资产周转率为0.11次,上年同期为0.11次;固定资产周转率为0.19次,上年同期为0.2次;公司应收账款周转率、存货周转率分别为0.62次、2488.85次。

2023年,公司期间费用为2.12亿元,同比减少1878.06万元;期间费用率为21.47%,同比下降4.75个百分点。其中,管理费用同比下降2.98%,研发费用同比增长319.41%,财务费用同比下降10.62%。

资产重大变化方面,截至2023年年末,公司固定资产较上年末增加34.27%,占公司总资产比重上升13.34个百分点;货币资金较上年末减少61.39%,占公司总资产比重下降8.00个百分点;在建工程较上年末减少46.71%,占公司总资产比重下降6.01个百分点;应收账款较上年末增加15.67%,占公司总资产比重上升1.61个百分点。

负债重大变化方面,截至2023年年末,公司长期借款较上年末增加6.60%,占公司总资产比重上升0.73个百分点;应付账款较上年末增加77.71%,占公司总资产比重上升2.03个百分点;短期借款较上年末减少100.00%,占公司总资产比重下降1.36个百分点;应付票据较上年末减少33.23%,占公司总资产比重下降0.34个百分点。

从存货变动来看,截至2023年年末,公司存货账面价值为33.38万元,占净资产的0.01%。根据财报,公司本期没有计提存货跌价准备。
2023年全年,公司研发投入金额为374.74万元,同比增长319.41%;研发投入占营业收入比例为0.38%,相比上年同期上升0.28个百分点。此外,公司全年研发投入资本化率为0。


在偿债能力方面,公司2023年年末资产负债率为69.39%,相比上年末上升0.72个百分点;有息资产负债率为62.61%,相比上年末下降1.01个百分点。

2023年,公司流动比率为1.81,速动比率为1.81。

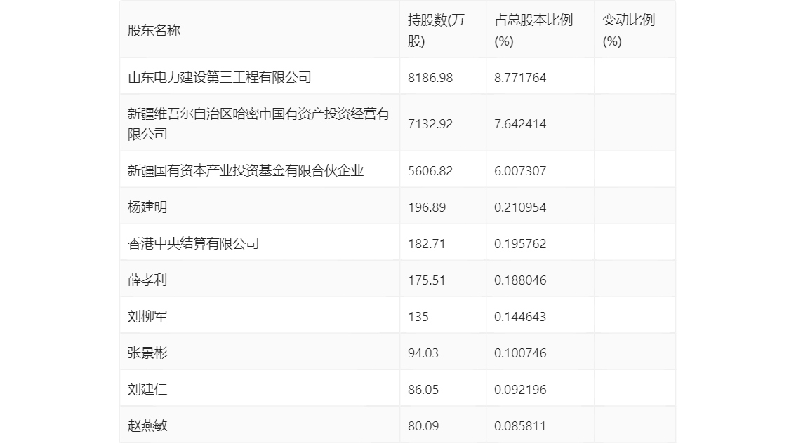
年报显示,2023年年末公司十大流通股东中,新进股东为刘建仁、赵燕敏,取代了三季度末的保利(横琴)资本管理有限公司-珠海嘉赋股权投资基金合伙企业(有限合伙)、倪丽明。在具体持股比例上,杨建明、香港中央结算有限公司、薛孝利、刘柳军持股有所上升。

筹码集中度方面,截至2023年年末,公司股东总户数为6.32万户,较三季度末下降了228户,降幅0.36%;户均持股市值由三季度末的12.07万元下降至11.93万元,降幅为1.16%。

指标注解:
市盈率
=总市值/净利润。当公司亏损时市盈率为负,此时用市盈率估值没有实际意义,往往用市净率或市销率做参考。
市净率
=总市值/净资产。市净率估值法多用于盈利波动较大而净资产相对稳定的公司。
市销率
=总市值/营业收入。市销率估值法通常用于亏损或微利的成长型公司。
文中市盈率和市销率采用TTM方式,即以截至最近一期财报(含预报)12个月的数据计算。市净率采用LF方式,即以最近一期财报数据计算。
市盈率为负时,不显示当期分位数,会导致折线图中断。