利仁科技:2023年净利同比下降58.96% 拟10派4元

中证智能财讯 利仁科技(001259)4月27日披露2023年年报。2023年,公司实现营业总收入4.29亿元,同比下降34.69%;归母净利润2110.42万元,同比下降58.96%;扣非净利润2016.47万元,同比下降58.02%;经营活动产生的现金流量净额为4187.15万元,同比增长248.61%;报告期内,利仁科技基本每股收益为0.2868元,加权平均净资产收益率为2.81%。公司2023年年度利润分配预案为:拟向全体股东每10股派4元(含税)。


以4月26日收盘价计算,利仁科技目前市盈率(TTM)约为76.22倍,市净率(LF)约为2.12倍,市销率(TTM)约为3.75倍。

公司近年市盈率(TTM)、市净率(LF)、市销率(TTM)历史分位图如下所示:



数据统计显示,利仁科技近三年营业总收入复合增长率为-15.92%,在厨房小家电行业已披露2023年数据的10家公司中排名第10。近三年净利润复合年增长率为-32.15%,排名10/10。

年报称,公司一家专注于从事厨房小家电与家居小家电系列产品研发、设计、生产与销售,以自主品牌“利仁Liven”系列产品为核心,致力于为消费者提供高品质生活的创新型小家电企业。
分产品来看,2023年公司主营业务中,厨房小家电-电饼铛类收入2.59亿元,同比下降12.38%,占营业收入的60.45%;厨房小家电-多功能锅类收入0.55亿元,同比下降29.27%,占营业收入的12.85%;厨房小家电-空气炸锅类收入0.44亿元,同比下降78.50%,占营业收入的10.16%。

截至2023年末,公司员工总数为551人,人均创收77.86万元,人均创利3.83万元,人均薪酬9.86万元,较上年同期分别下降31.26%、56.80%、0.38%。

2023年,公司毛利率为25.84%,同比下降5.11个百分点;净利率为4.86%,较上年同期下降2.97个百分点。从单季度指标来看,2023年第四季度公司毛利率为24.57%,同比下降7.79个百分点,环比上升2.05个百分点;净利率为3.70%,较上年同期下降1.72个百分点,较上一季度上升6.54个百分点。

分产品看,厨房小家电-电饼铛类、厨房小家电-多功能锅类、厨房小家电-空气炸锅类2023年毛利率分别为29.90%、27.85%、25.58%。
报告期内,公司前五大客户合计销售金额1.82亿元,占总销售金额比例为42.55%,公司前五名供应商合计采购金额1.25亿元,占年度采购总额比例为52.46%。


数据显示,2023年公司加权平均净资产收益率为2.81%,较上年同期下降7.54个百分点;公司2023年投入资本回报率为1.40%,较上年同期下降6.92个百分点。

2023年,公司经营活动现金流净额为4187.15万元,同比增长248.61%;筹资活动现金流净额-8.85万元,同比减少3.39亿元;投资活动现金流净额-5635.80万元,上年同期为-374.73万元。
进一步统计发现,2023年公司自由现金流为-2726.08万元,上年同期为904.30万元。

2023年,公司营业收入现金比为102.58%,净现比为198.40%。

2023年,公司期间费用为9998.16万元,较上年同期减少2464.55万元;但期间费用率为23.31%,较上年同期上升4.34个百分点。其中,销售费用同比下降23.74%,管理费用同比增长10.52%,研发费用同比增长11.35%,财务费用由去年同期的-547.07万元变为-1062.06万元。

资产重大变化方面,截至2023年年末,公司无形资产较上年末增加794.69%,占公司总资产比重上升6.03个百分点;存货较上年末减少27.61%,占公司总资产比重下降4.44个百分点;应收票据较上年末减少58.26%,占公司总资产比重下降1.05个百分点;应收账款较上年末减少13.67%,占公司总资产比重下降0.68个百分点。

负债重大变化方面,截至2023年年末,公司应付账款较上年末减少33.00%,占公司总资产比重下降3.29个百分点;应交税费较上年末减少74.34%,占公司总资产比重下降0.84个百分点;租赁负债较上年末减少95.93%,占公司总资产比重下降0.42个百分点;其他流动负债较上年末减少63.57%,占公司总资产比重下降0.38个百分点。

从存货变动来看,截至2023年年末,公司存货账面价值为1.17亿元,占净资产的15.4%,较上年末减少4465.07万元。其中,存货跌价准备为220.68万元,计提比例为1.85%。

2023年全年,公司研发投入金额为1085.32万元,同比增长11.35%;研发投入占营业收入比例为2.53%,相比上年同期上升1.05个百分点。此外,公司全年研发投入资本化率为0。


年报显示,截至报告期末,公司及其子公司已获得各项授权专利389项,其中发明专利11项,实用新型专利158项,外观设计专利220项。
在偿债能力方面,公司2023年年末资产负债率为9.96%,相比上年末下降6.72个百分点;有息资产负债率为0.41%,相比上年末下降0.07个百分点。

2023年,公司流动比率为9.16,速动比率为7.72。

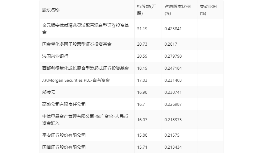
年报显示,2023年年末公司十大流通股东中,新进股东为西部利得量化成长混合型发起式证券投资基金、J.P.Morgan Securities PLC-自有资金、邬凌云、中信里昂资产管理有限公司-客户资金-人民币资金汇入、平安证券股份有限公司、国信证券股份有限公司,取代了三季度末的UBS AG、谭沙沙、潘尤玲、JPMORGAN CHASE BANK,NATIONAL ASSOCIATION、杜万军、高若蘭。在具体持股比例上,金元顺安优质精选灵活配置混合型证券投资基金持股有所上升,国金量化多因子股票型证券投资基金、法国兴业银行、高盛公司有限责任公司持股有所下降。

筹码集中度方面,截至2023年年末,公司股东总户数为8339户,较三季度末增长了258户,增幅3.19%;户均持股市值由三季度末的26.61万元下降至24.99万元,降幅为6.09%。

指标注解:
市盈率
=总市值/净利润。当公司亏损时市盈率为负,此时用市盈率估值没有实际意义,往往用市净率或市销率做参考。
市净率
=总市值/净资产。市净率估值法多用于盈利波动较大而净资产相对稳定的公司。
市销率
=总市值/营业收入。市销率估值法通常用于亏损或微利的成长型公司。
文中市盈率和市销率采用TTM方式,即以截至最近一期财报(含预报)12个月的数据计算。市净率采用LF方式,即以最近一期财报数据计算。
市盈率为负时,不显示当期分位数,会导致折线图中断。