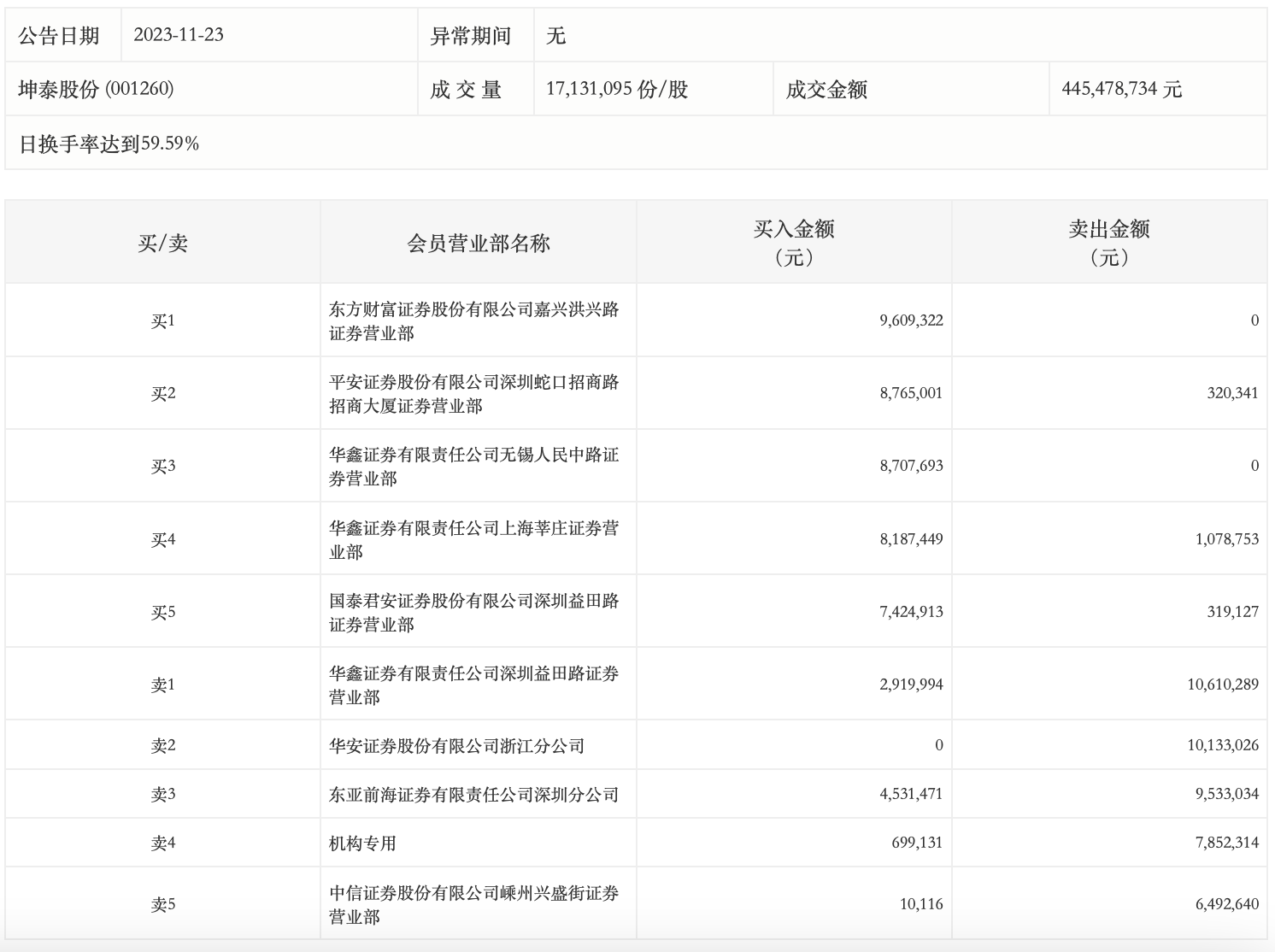
龙虎榜丨坤泰股份今日跌9.45%,机构合计净卖出715.32万元

查股网  2023-11-23 19:26  坤泰股份(001260)个股分析

11月23日,坤泰股份今日跌9.45%,全天换手率达59.59%,振幅达12.47%。龙虎榜数据显示,营业部席位合计净买入451.56万元。其中,机构买入69.91万元,卖出785.23万元,合计净卖出715.32万元。此外,华鑫证券深圳益田路证券营业部、华安证券浙江分公司分别卖出1061.03万元、1013.30万元;东方财富证券嘉兴洪兴路证券营业部、平安证券深圳蛇口招商路招商大厦证券营业部分别买入960.93万元、876.50万元。