龙虎榜丨铖昌科技今日涨停,机构合计净买入1141.57万元

http://ddx.gubit.cn  2023-10-23 20:48  铖昌科技(001270)公司分析

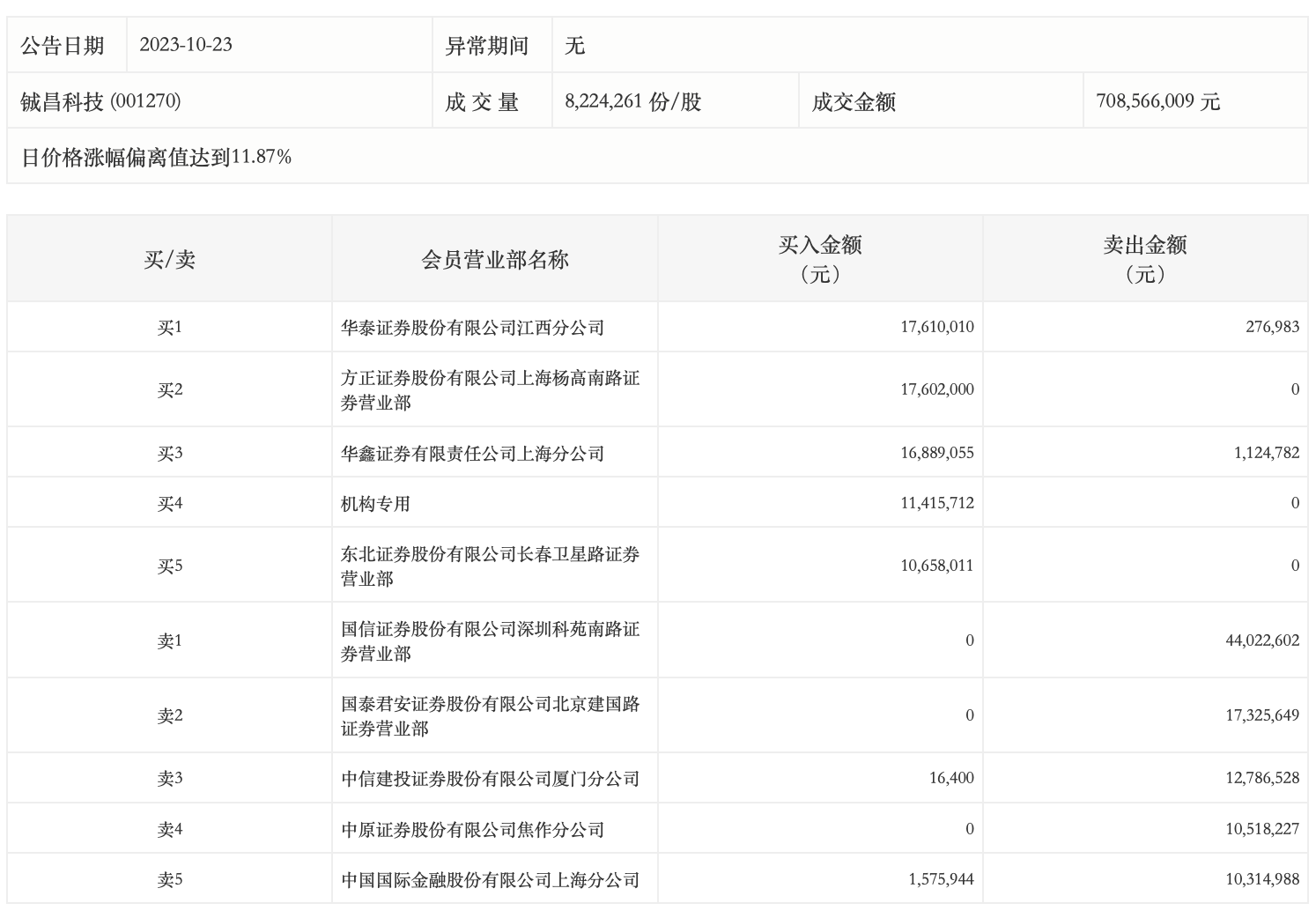
10月23日,铖昌科技今日涨停,全天换手率达11.54%,振幅达10%。龙虎榜数据显示,营业部席位合计净卖出2060.26万元。其中,机构合计净买入1141.57万元。此外,华泰证券江西分公司、方正证券上海杨高南路证券营业部分别买入1761.00万元、1760.20万元;国信证券深圳科苑南路证券营业部、国泰君安证券北京建国路证券营业部分别卖出4402.26万元、1732.56万元。