龙虎榜丨一彬科技今日涨停,知名游资章盟主净买入1186.65万元

查股网  2023-11-20 17:02  一彬科技(001278)个股分析

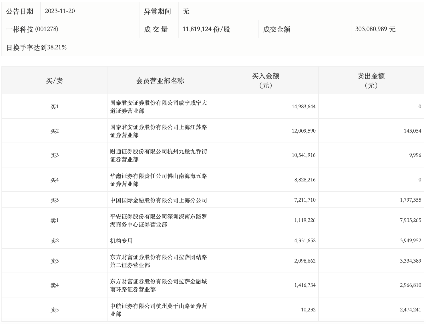
11月20日,一彬科技今日涨停,龙虎榜数据显示,上榜营业部席位全天成交8518.26万元,占当日总成交金额比例为28.11%。其中,买入金额为6257.16万元,卖出金额为2261.11万元,合计净买入3996.05万元。

具体来看,机构买入435.17万元,卖出395.0万元,合计净买入40.17万元。此外,知名游资现身龙虎榜,国泰君安证券咸宁咸宁大道证券营业部、章盟主(国泰君安证券上海江苏路证券营业部)分别买入1498.36万元、1200.96万元;平安证券深圳深南东路罗湖商务中心证券营业部、东方财富证券拉萨团结路第二证券营业部分别卖出793.53万元、333.44万元。