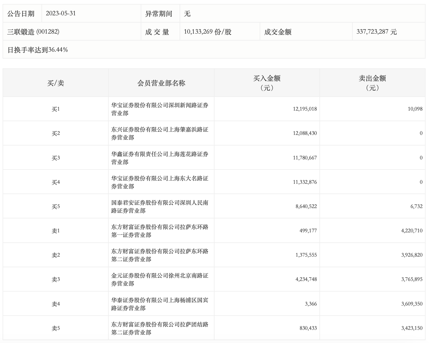
龙虎榜丨三联锻造今日涨停,上榜营业部席位合计净买入4401.8万元

http://ddx.gubit.cn  2023-05-31 16:48  三联锻造(001282)公司分析

5月31日,三联锻造今日涨停,龙虎榜数据显示,上榜营业部席位全天成交8194.35万元,占当日总成交金额比例为24.26%。其中,买入金额为6298.08万元,卖出金额为1896.28万元,合计净买入4401.8万元。

具体来看,华宝证券深圳新闻路证券营业部、东兴证券上海肇嘉浜路证券营业部分别买入1219.50万元、1208.84万元;东方财富证券拉萨东环路第一证券营业部、东方财富证券拉萨东环路第二证券营业部分别卖出422.07万元、392.68万元。