龙虎榜丨三联锻造今日跌8.98%,机构合计净卖出264.13万元

http://ddx.gubit.cn  2023-09-28 22:39  三联锻造(001282)公司分析

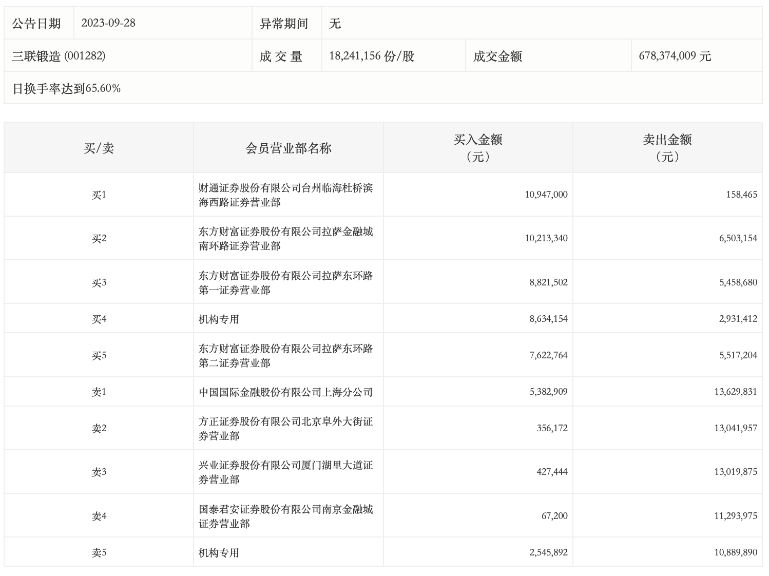
9月28日,三联锻造今日跌8.98%,全天换手率达65.6%,振幅达5.16%。龙虎榜数据显示,营业部席位合计净卖出2742.61万元。其中,机构买入1118.0万元,卖出1382.13万元,合计净卖出264.13万元。此外,中国国际金融上海分公司、方正证券北京阜外大街证券营业部分别卖出1362.98万元、1304.20万元;财通证券台州临海杜桥滨海西路证券营业部、东方财富证券拉萨金融城南环路证券营业部分别买入1094.70万元、1021.33万元。