龙虎榜丨中电港今日涨停,上榜营业部席位合计净买入7220.43万元

http://ddx.gubit.cn  2023-05-09 21:45  中电港(001287)公司分析

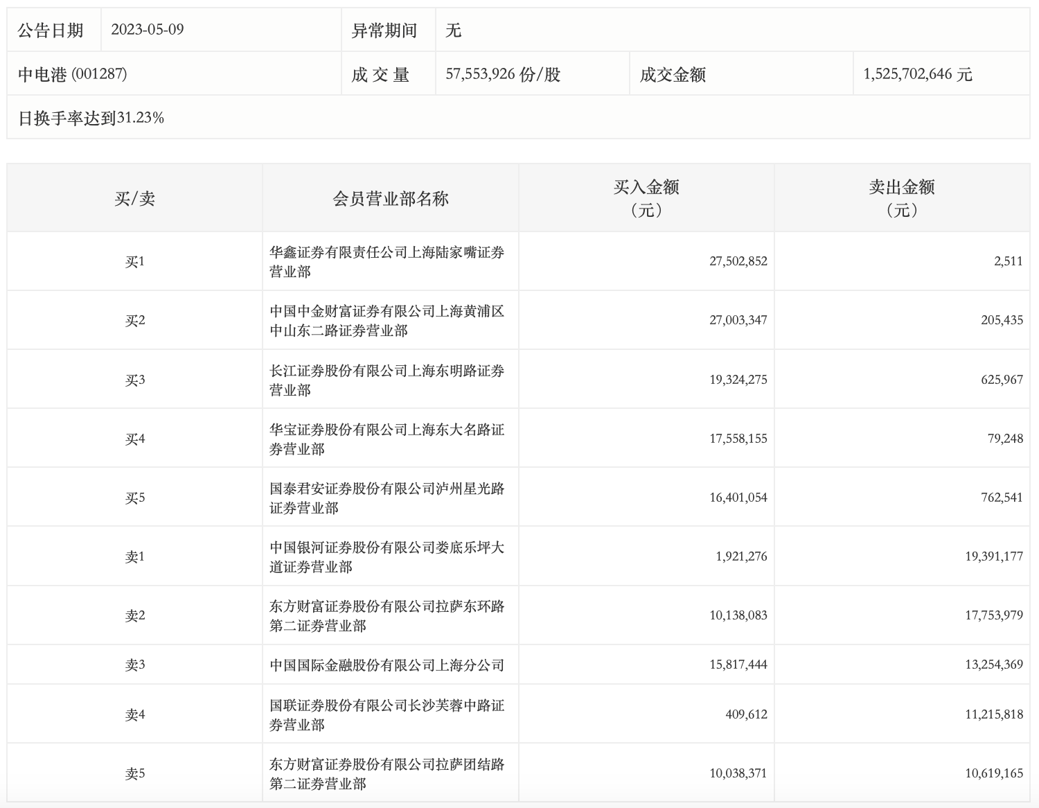
5月9日,中电港今日涨停,龙虎榜数据显示,上榜营业部席位全天成交2.2亿元,占当日总成交金额比例为14.42%。其中,买入金额为1.46亿元,卖出金额为7391.02万元,合计净买入7220.43万元。

具体来看,华鑫证券上海陆家嘴证券营业部、中国中金财富证券有限公司上海黄浦区中山东二路证券营业部分别买入2750.29万元、2700.33万元;中国银河证券娄底乐坪大道证券营业部、东方财富证券拉萨东环路第二证券营业部分别卖出1939.12万元、1775.40万元。