龙虎榜丨中电港今日涨6.68%,机构合计净卖出148.18万元

http://ddx.gubit.cn  2023-05-30 16:47  中电港(001287)公司分析

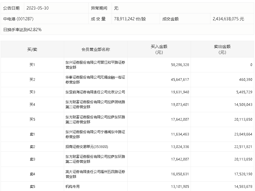
5月30日,中电港今日涨6.68%,龙虎榜数据显示,上榜营业部席位全天成交3.34亿元,占当日总成交金额比例为13.72%。其中,买入金额为2.15亿元,卖出金额为1.19亿元,合计净买入9586.15万元。

具体来看,机构买入1310.19万元,卖出1458.37万元,合计净卖出148.18万元。此外,东兴证券晋江和平路证券营业部、华泰证券无锡金融一街证券营业部分别买入5829.63万元、4564.76万元;东兴证券宁德闽东中路证券营业部、招商证券交易单元(353800)分别卖出2384.97万元、2251.18万元。