龙虎榜丨好上好今日涨停,营业部席位合计净买入1830.1万元

http://ddx.gubit.cn  2023-09-28 22:25  好上好(001298)公司分析

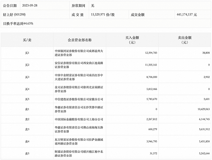
9月28日,好上好今日涨停,全天换手率达44.63%,振幅达5.69%。龙虎榜数据显示,营业部席位合计净买入1830.1万元。其中,中国银河证券成都益州大道证券营业部、安信证券西安曲江池南路证券营业部分别买入1259.48万元、1150.52万元;华鑫证券长沙芙蓉中路证券营业部、中国国际金融上海分公司分别卖出1042.91万元、614.47万元。