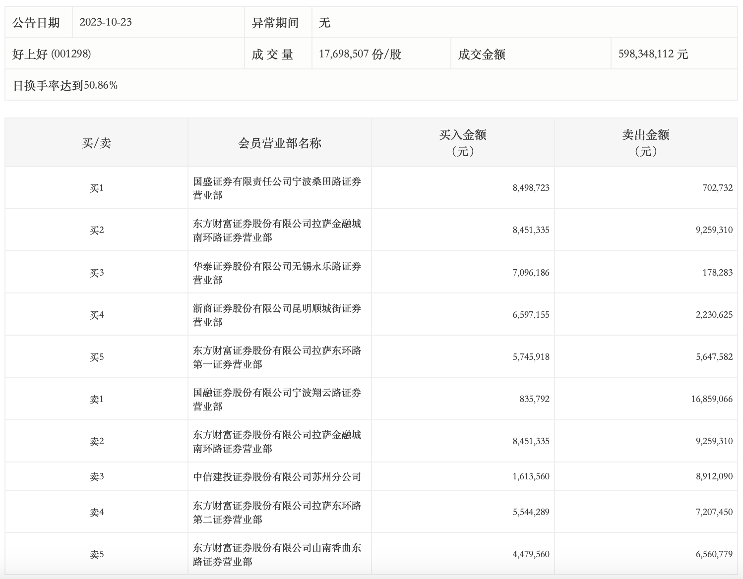
龙虎榜丨好上好今日跌2.16%,宁波桑田路净买入779.6万元

http://ddx.gubit.cn  2023-10-23 21:08  好上好(001298)公司分析

10月23日,好上好今日跌2.16%,龙虎榜数据显示,上榜营业部席位全天成交1.06亿元,占当日总成交金额比例为17.79%。其中,买入金额为4886.25万元,卖出金额为5755.79万元,合计净卖出869.54万元。

具体来看,知名游资现身龙虎榜,国融证券宁波翔云路证券营业部、东方财富证券拉萨金融城南环路证券营业部分别卖出1685.91万元、925.93万元;宁波桑田路(国盛证券宁波桑田路证券营业部)、东方财富证券拉萨金融城南环路证券营业部分别买入849.87万元、845.13万元。