龙虎榜丨美能能源今日涨停,营业部席位合计净卖出2445.39万元

http://ddx.gubit.cn  2023-08-11 21:55  美能能源(001299)公司分析

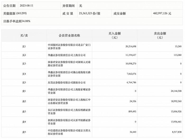
8月11日,美能能源今日涨停,全天换手率达54.08%,振幅达3.78%。龙虎榜数据显示,营业部席位合计净卖出2445.39万元。其中,中国银河证券北京广安门证券营业部、华鑫证券上海分公司分别买入2021.47万元、1119.46万元;华鑫证券上海陆家嘴证券营业部、国泰君安证券上海松江中山东路证券营业部分别卖出2414.45万元、1899.26万元。