龙虎榜丨美能能源今日涨停,知名游资作手新一净买入2200.15万元

http://ddx.gubit.cn  2023-08-21 20:41  美能能源(001299)公司分析

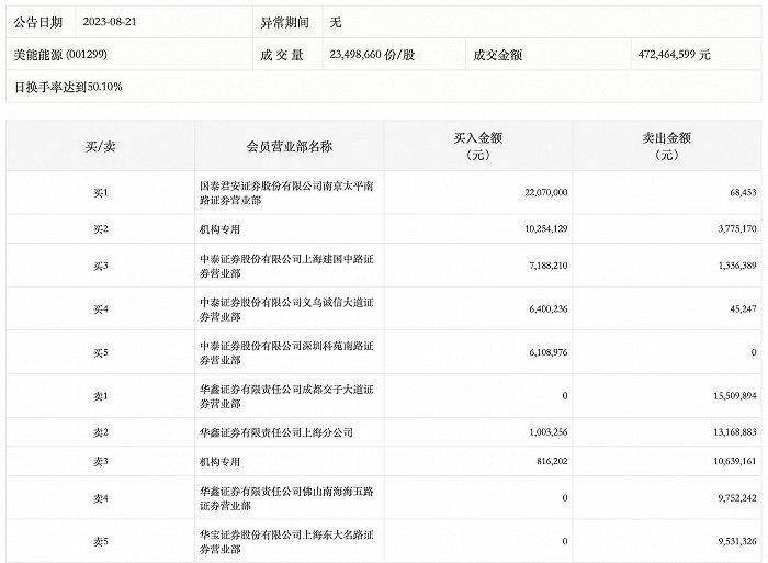
8月21日,美能能源今日涨停,龙虎榜数据显示,上榜营业部席位全天成交1.18亿元,占当日总成交金额比例为24.91%。其中,买入金额为5384.1万元,卖出金额为6382.68万元,合计净卖出998.58万元。

具体来看,机构买入1107.03万元,卖出1441.43万元,合计净卖出334.4万元。此外,知名游资现身龙虎榜,作手新一(国泰君安证券南京太平南路证券营业部)、中泰证券上海建国中路证券营业部分别买入2207.00万元、718.82万元;华鑫证券成都交子大道证券营业部、华鑫证券上海分公司分别卖出1550.99万元、1316.89万元。