龙虎榜丨夏厦精密今日涨5.26%,机构合计净买入1881.63万元

查股网  2023-11-29 16:49  夏厦精密(001306)个股分析

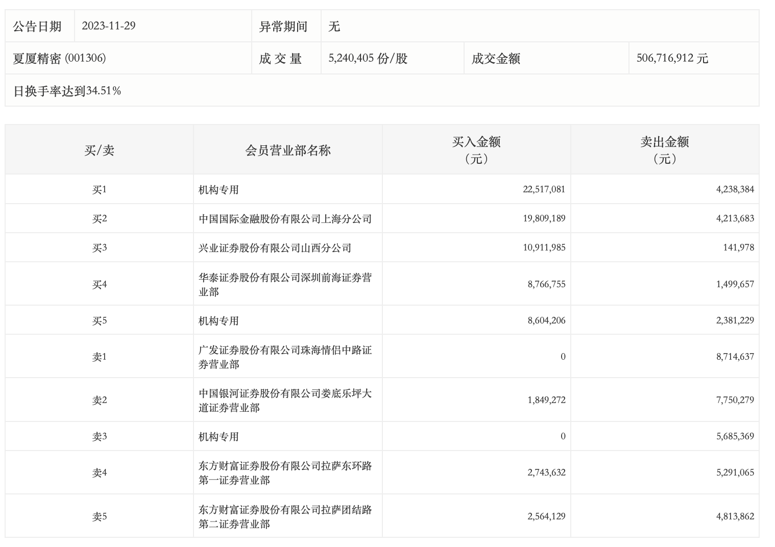
11月29日,夏厦精密今日涨5.26%,全天换手率达34.51%,振幅达6.9%。龙虎榜数据显示,营业部席位合计净买入3303.61万元。其中,机构买入3112.13万元,卖出1230.5万元,合计净买入1881.63万元。此外,中国国际金融上海分公司、兴业证券山西分公司分别买入1980.92万元、1091.20万元;广发证券珠海情侣中路证券营业部、中国银河证券娄底乐坪大道证券营业部分别卖出871.46万元、775.03万元。