龙虎榜丨长青科技今日涨停,上榜营业部席位合计净买入507.6万元

http://ddx.gubit.cn  2023-08-21 20:49  长青科技(001324)公司分析

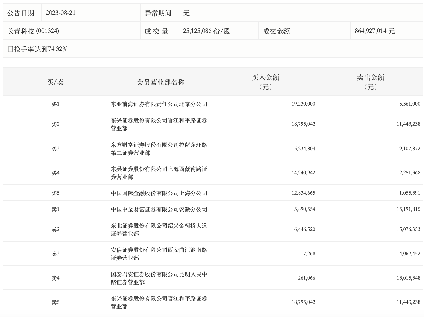
8月21日,长青科技今日涨停,龙虎榜数据显示,上榜营业部席位全天成交1.78亿元,占当日总成交金额比例为20.6%。其中,买入金额为9164.09万元,卖出金额为8656.48万元,合计净买入507.6万元。

具体来看,东亚前海证券北京分公司、东兴证券晋江和平路证券营业部分别买入1923.00万元、1879.50万元;中国中金财富证券有限公司安徽分公司、东北证券绍兴金柯桥大道证券营业部分别卖出1519.18万元、1507.64万元。