龙虎榜丨长青科技今日跌停,“拉萨天团”买入榜占4席

http://ddx.gubit.cn  2023-10-23 21:00  长青科技(001324)公司分析

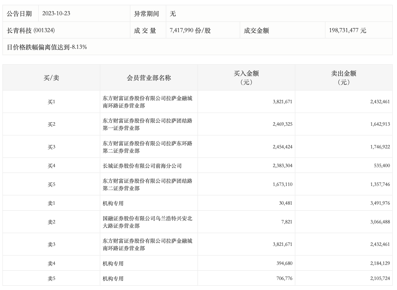
10月23日,长青科技今日跌停,全天换手率达21.94%,振幅达7.35%。龙虎榜数据显示,营业部席位合计净卖出462.22万元。其中,机构买入113.19万元,卖出778.18万元,合计净卖出664.99万元。此外,国融证券乌兰浩特兴安北大路证券营业部、东方财富证券拉萨金融城南环路证券营业部分别卖出306.65万元、243.25万元;东方财富证券拉萨金融城南环路证券营业部、东方财富证券拉萨团结路第一证券营业部分别买入382.17万元、246.93万元。