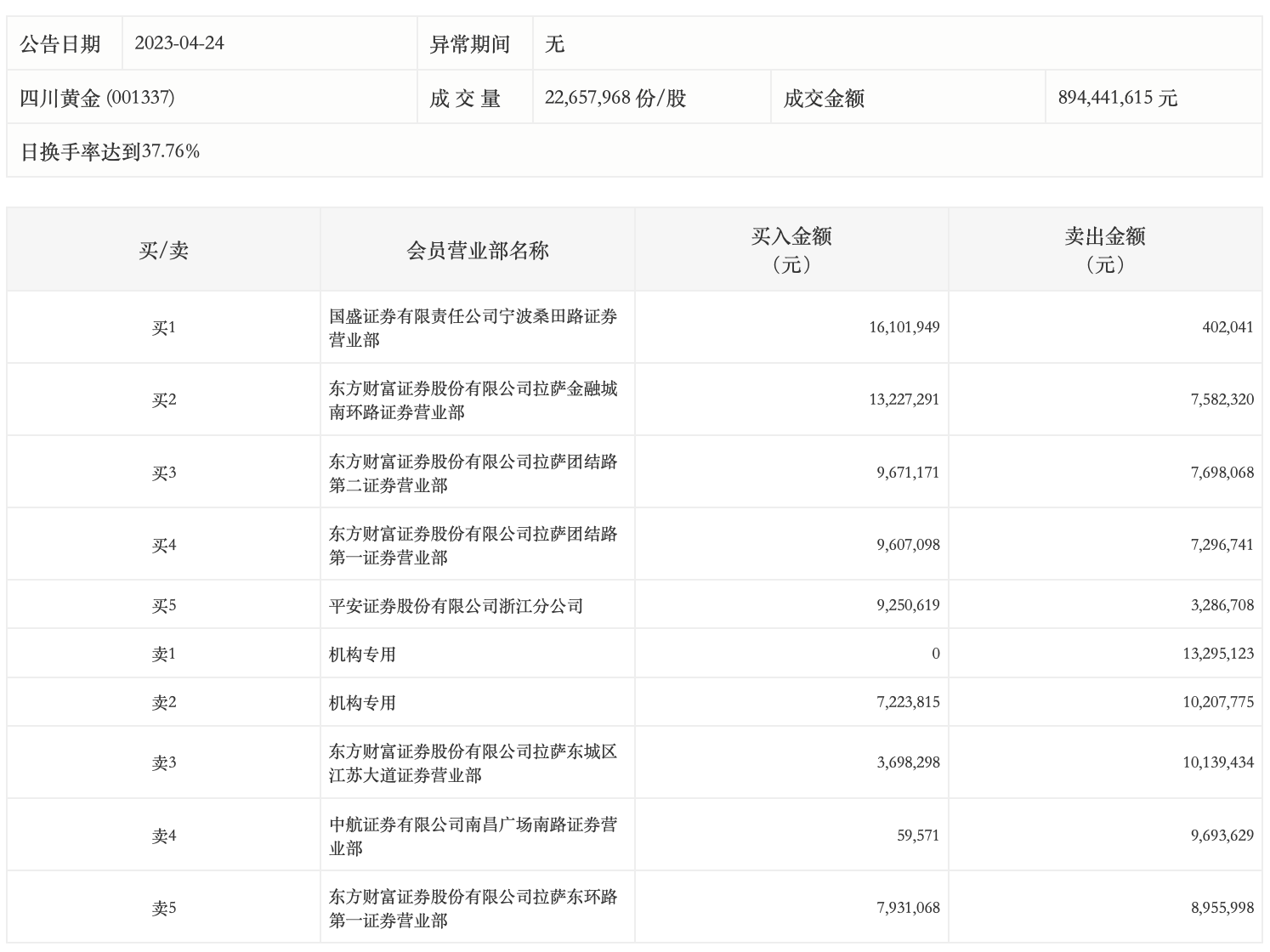
龙虎榜丨四川黄金今日跌5.06%,机构合计净卖出1627.91万元,宁波桑田路买入1610.19万元

http://ddx.gubit.cn  2023-04-24 21:40  四川黄金(001337)公司分析

4月24日,四川黄金今日跌5.06%,龙虎榜数据显示,上榜营业部席位全天成交1.55亿元,占当日总成交金额比例为17.37%。其中,买入金额为7677.09万元,卖出金额为7855.78万元,合计净卖出178.7万元。

具体来看,机构买入722.38万元,卖出2350.29万元,合计净卖出1627.91万元。此外,知名游资现身龙虎榜,东方财富证券拉萨东城区江苏大道证券营业部、中航证券有限公司南昌广场南路证券营业部分别卖出1013.94万元、969.36万元;宁波桑田路(国盛证券宁波桑田路证券营业部)、东方财富证券拉萨金融城南环路证券营业部分别买入1610.19万元、1322.73万元。